МАГНИТНЫЙ УСИЛИТЕЛЬ
Магнитные усилители широко применяются на отечественных тепловозах в системах регулирования мощности дизель-генераторов и в других устройствах автоматики.
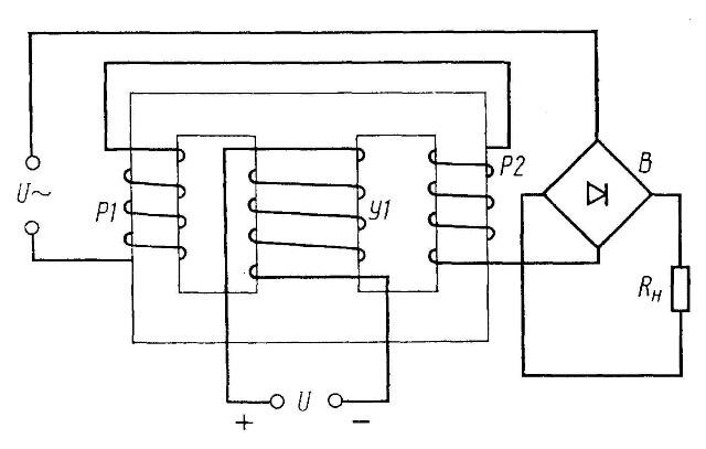
Работа магнитных усилителей основана на использовании законов прохождения переменного тока в электрических цепях и физических свойств ферромагнитных материалов. Магнитный усилитель имеет сердечник, на который надеты катушки обмоток (рис. 222).

Рис. 222 Схема магнитного усилителя
Сердечник изготавливают из электротехнической стали или других ферромагнитных материалов, например из пермаллоя. Катушки Р1 и Р2 рабочей обмотки усилителя включены в цепь переменного тока. В обмотку управления У1 подводится постоянный ток. Рабочая обмотка магнитного усилителя представляет собой индуктивное сопротивление.
При описании возбудителей с расщепленными полюсами подробно рассматривался процесс намагничивания ферромагнитных сердечников. Если вначале с увеличением магнитодвижущей силы пропорционально ей возрастают магнитный поток и магнитная индукция, то при наступлении магнитного насыщения материала сердечника практически прекращается изменение магнитной индукции, как бы ни увеличивали мы магнитодвижущую силу за счет повышения величины тока в обмотке. Явление магнитного насыщения ферромагнитных материалов использовано в магнитном усилителе.
Вследствие большого индуктивного сопротивления рабочей обмотки при отсутствии тока в обмотке управления сила тока в цепи рабочей обмотки будет весьма невелика. Если по обмотке управления пропустить постоянный ток и довести сердечник до магнитного насыщения, то переменный ток рабочих обмоток уже не будет создавать дополнительного изменяющегося магнитного потока. Индуктивное сопротивление рабочих обмоток резко снизится, и в соответствии с законом Ома ток, протекающий по этим обмоткам, значительно увеличится. При постепенном увеличении тока в обмотке управления также постепенно снижается переменный магнитный поток, создаваемый рабочими обмотками, и нарастает ток в цепи этих обмоток.
В магнитных усилителях устанавливаются две катушки Р1 и Р2 рабочей обмотки (см. рис. 222). Ими создаются согласные по направлению магнитные потоки, замыкающиеся во внешнем кольце магнитопровода усилителя. В среднем стержне с обмоткой управления магнитные потоки рабочих обмоток имеют противоположное направление, взаимокомпенсируются и не индуктируют э. д. с. в обмотке управления. Появление трансформаторной э. д. с. в управляющей обмотке могло бы привести к нарушению работы цепей управления.
Обмотка управления потребляет небольшую мощность. Благодаря этому с помощью небольшого тока, затрачивая незначительную мощность, можно регулировать в широких пределах достаточно большую по величине мощность нагрузки. Отсюда такие аппараты получили свое наименование усилителей.
Магнитный усилитель можно рассматривать и как регулируемый резистор в цепи переменного тока, изменение сопротивления которого производится с помощью управляющего постоянного тока.
Нагрузка Rн т. е. объект, в котором ток регулируется с помощью магнитного усилителя, включается в цепь рабочих обмоток. Нагрузкой магнитных усилителей часто являются обмотки возбуждения генераторов. Чтобы через нагрузку проходил постоянный, а не переменный ток, в цепь включается выпрямительный мост В.
Отношение тока нагрузки к току в обмотке управления называют коэффициентом усиления магнитного усилителя по току, а отношение мощностей нагрузки и управления — коэффициентом усиления по мощности. Коэффициенты усиления обычных магнитных усилителей обычно лежат в пределах от 50 до 200.
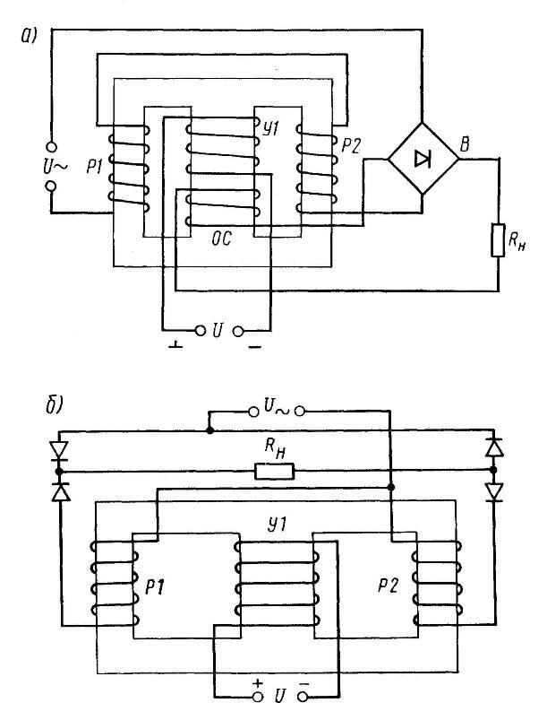
Увеличения коэффициентов усиления магнитных усилителей достигают применением обратной связи. Схемы таких усилителей показаны на рис. 223.

Рис. 223. Схемы магнитных усилителей с обратными связями: а) внешней; б)внутренней
Усилитель оборудуется дополнительной обмоткой обратной связи ОС (рис. 223, а), которая устанавливается вместе с обмоткой управления и включается последовательно с внешней нагрузкой Rн. Через обмотку обратной связи проходит уже выпрямленный выходной ток рабочих обмоток. Создаваемый ею магнитный поток усиливает магнитный поток обмотки управления У1. В процессе работы магнитного усилителя при увеличении тока в обмотке управления увеличивается ток рабочих обмоток и одновременно возрастает ток в обмотке обратной связи, так как она включена последовательно с нагрузкой. Поэтому обмотка обратной связи усиливает действие обмотки управления. При небольшом увеличении тока управления происходит резкое изменение тока нагрузки. В рассмотренном усилителе была применена специальная обмотка обратной связи. Такие магнитные усилители называют усилителями с внешней обратной связью. В качестве обмоток обратной связи могут быть использованы и рабочие обмотки (рис. 223, б). В этом случае они как бы берут на себя дополнительную роль, а специальной обмотки обратной связи не имеется. Последовательно с каждой рабочей обмотки включается выпрямитель. Поэтому через катушки рабочих обмоток ток проходит только в одном направлении. Каждая катушка работает лишь в течение полупериода изменения величины переменного тока. В результате рабочие катушки создают магнитный поток одного направления, совпадающего с направлением магнитного потока управляющей (регулировочной) обмотки. Таким образом, рабочие обмотки усиливают действие регулировочной обмотки, увеличивая коэффициент усиления. Такая система обратной связи получила название внутренней. Внутренняя обратная связь упрощает устройство магнитного усилителя, так как не требует установки дополнительной обмотки.
Рассмотренные выше обратные связи являются положительными, приводящими к увеличению коэффициента усиления магнитного усилителя. Могут применяться при необходимости и отрицательные обратные связи, снижающие коэффициент усиления.
Магнитные усилители, используемые в электрических схемах тепловозов для регулирования мощности тяговых генераторов, имеют внутреннюю положительную обратную связь. Они получили название амплистатов.
Само слово амплистат состоит из двух частей: ампли — происходит от латинского слова amplificatio — усиление (увеличение) и стат -— от греческого слова statos — стоящий (неподвижный). Таким образом, в переводе амплистат.— это статический (неподвижный, без вращающихся частей) усилитель. Коэффициент усиления по мощности магнитных усилителей с обратной связью очень велик. У тепловозных амплистатов он составляет около 50 000.
При наличии обратной связи даже в случае отсутствия тока в обмотке управления магнитный усилитель подмагничивается рабочими обмотками, и ток нагрузки достигает значительной величины. Если теперь пропускать ток по обмотке управления в том направлении, при котором создаваемый ею магнитный поток будет усиливать намагничивающее действие рабочих обмоток, то выходной ток усилителя возрастет.
Изменение направления тока в обмотке управления вызовет размагничивание усилителя и снижение выходного тока вплоть до определенной наименьшей величины- Отношение наибольшего выходного тока магнитного усилителя к наименьшему называют кратностью выходного тока усилителя. Большая кратность выходного тока — очень важное достоинство магнитных усилителей.
В магнитных усилителях часто применяется несколько обмоток управления. При этом ток нагрузки усилителя могут независимо регулировать ряд различных автоматических устройств. Величина тока нагрузки будет определяться алгебраической суммой магнитодвижущих сил обмоток управления.
Показанные на рис. 222 и 223 магнитные усилители работают на однофазном переменном токе. Кроме того, применяются трехфазные магнитные усилители, состоящие как бы из трех однофазных усилителей. Трехфазные магнитные усилители были использованы в электросхемах тепловозов ТЭ10 для регулирования тока в обмотке независимого возбуждения тягового генератора.
На тепловозах 2ТЭ10Л, 2ТЭ10В и ТЭП60 однофазные амплистаты применены в качестве основного аппарата управления мощностью тягового генератора.

Рис. 224. Амплистат возбуждения тепловоза 2ТЭ10Л а) общий вид; б) электрическая схема
Амплистат выполнен с двумя магнитными сердечниками (магнитопро-водами), набранными из листов электротехнической стали толщиной 0,35 мм (рис. 224). На каждом сердечнике расположено по одной катушке Н1-К1 и Н2-К2 рабочей обмотки. Четыре обмотки подмагничивания (управления) — задающая, управляющая, регулировочная и стабилизирующая—охватывают оба сердечника. Рабочая обмотка амплнста-та включена последовательно с выпрямителем в цепь питания обмотки независимого возбуждения от подвоз-будителя переменного тока. Обмотки подмагничивания питаются постоянным током от источников:
- задающая обмотка НЗ — КЗ — от бесконтактного тахометрического блока или тахогенератвра на тепловозах первых лет постройки;
- управляющая обмотка НУ — КУ—от распределительного трансформатора через трансформаторы постоянного тока и напряжения и селективный узел электрической схемы;
- регулировочная обмотка HP — КР — от распределительного трансформатора через индуктивный датчик объединенного регулятора и выпрямитель;
- стабилизирующая обмотка НС — КС — от стабилизирующего трансформатора через выпрямитель.
При этом задающая обмотка создает основную положительную магнитодвижущую силу подмагничивания- Регулировочная обмотка усиливает подмагничивание амплистата. Магнитодвижущая сила управляющей обмотки направлена встречно магнитодвижущей силе задающей и регулировочной обмоток, поэтому управляющая обмотка размагничивает амплистат. Стабилизирующая обмотка получает питание только при переходных процессах возбудителя для сглаживания этих процессов и повышения устойчивости работы схемы.
Следовательно, рабочие обмотки амплистата являются регулируемым индуктивным сопротивлением в цепи возбуждения возбудителя. Величина сопротивления изменяется в результате совместного действия четырех обмоток управления. Чем больше ток в задающей и регулировочной обмотках (ток уставки), тем значительнее выходной ток амплистата и выше» напряжение возбудителя и тягового генератора. С увеличением тока в управляющей обмотке вследствие ее размагничивающего действия уменьшается выходной ток амплистата, соответственно снижается напряжение возбудителя и тягового генератора.
При работе дизеля с заданной частотой вращения коленчатого вала напряжение тахометрического блока сохраняется постоянным, поэтому остается постоянной и магнитодвижущая сила задающей обмотки. С увеличением частоты вращения вала дизеля по позициям контроллера пропорционально повышаются выходное напряжение тахометрического блока, ток в задающей обмотке амплистата, ток возбуждения возбудителя, его напряжение и напряжение тягового генератора. Схема питания управляющей обмотки обеспечивает регулирование тока в ней в зависимости от силы тока и напряжения тягового генератора с целью получения его селективной характеристики.
Ток в регулировочной обмотке амплистата изменяется с помощью индуктивного датчика объединенного регулятора частоты вращения и мощности дизеля таким образом, чтобы мощность тягового генератора сохранялась постоянной на гиперболическом участке его внешней характеристики. Следовательно, магнитный поток регулировочной обмотки корректирует суммарное подмагничивание сердечника амплистата, преобразуя линейный участок селективной характеристики тягового генератора и гиперболический.
Рабочая обмотка амплистата выполнена из 236 витков медного провода диаметром 1,35 мм. Номинальная величина напряжения питания цепи рабочей обмотки равна 60 В, ток продолжительного режима достигает 8,5 А. Обмотки управления рассчитаны на номинальный ток до 1,4 -— 1,5 А, изготовлены из более тонкого медного провода диаметром 0,8 мм. Число витков задающей- и управляющей обмоток равняется 500, а корректирующей регулировочной — 200. В рабочей части характеристики (рис. 225) внешний ток амплистата изменяется от 0,2 до 9 А, т.е. кратность выходного тока равна 45 и является вполне достаточной для регулирования возбуждения тягового генератора в необходимых пределах.

Рис. 225. Характеристика аплистата возбуждения
В начало статьи
<< Назад --------------------------------- Дальше >>
|
|