КОЛЕСО

Конструктивно вагонные колёса можно разделить на безбандажные (цельные); бандажные (составные, состоящие из колёсного центра, бандажа и предохранительного кольца); упругие, имеющие между бандажом и колёсным центром упругий элемент; раздвижные на оси, вращающие на оси колёса. По способу изготовления колёса делятся на катаные и литые, а в зависимости от размеров - по диаметру, измеренному в плоскости круга катания.
В эксплуатации колёса, перекатываясь по рельсовому пути, передают ему значительные статические и динамические нагрузки через небольшую площадь. Они работают в сложных условиях окружающей среды. Одновременно с этим в процессе торможения между колёсами и колодками, а также в контакте с рельсами возникают силы трения, вызывающие нагрев и износ обода, что способствует образованию в нём ряда дефектов. От исправного состояния колёс во многом зависит безопасность движения поездов.

Бандажное колесо

Рис.1 Бандажное колесо

Учитывая сложные условия работы и необходимость обеспечения высокой надежности в эксплуатации, поверхность катания колеса должна обладать высокой прочностью, ударной вязкостью и износостойкостью, а металл диска и ступицы, удерживающейся на оси силами упругости, - необходимой вязкостью. Этим требованиям удовлетворяют составные колёса (рис. 1), в которых бандаж можно изготовлять из стали повышенной прочности и твёрдости, а колёсный центр - из более вязкой и дешёвой стали. Кроме того, при достижении предельного износа или появления другого повреждения в эксплуатации бандаж можно заменить без смены колёсного центра.
Однако в современных условиях эксплуатации железных дорог из-за существенных недостатков по прочности и надёжности, значительной трудоёмкости формирования колёсной пары и повышенной массе бандажные колёса в нашей стране были заменены на безбандажные. Причём, наиболее совершенными и надёжными в эксплуатации признаны стальные цельнокатаные. Конструкция, размеры и технология изготовления колёс определяются Госстандартами.

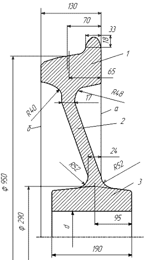
Стальное цельнокатаное колесо (рис.2) состоит из обода 1, диска 2 и ступицы 3. Рабочая часть колеса пред­ставляет собой поверхность катания 4. Номинальный размер ширины обода составляет 130 мм. На расстоянии 70 мм от внутренней грани а обода, являющейся базовой, расположен воображаемый круг катания, используемый для измерения специальными инструментами диаметра колеса, толщины обода и проката.  

Цельнокатанное колесо

Рис. 2. Стальное цельнокатаное вагонное колесо: 1 - обод; 2 - диск; 3 - ступица

Противоположная грань б называется наружной. Ступица 3 объединена с ободом 1 диском 2, расположенным под некоторым углом к плоскости круга катания, что придает колесу упругость и способствует снижению уровня динамических сил во время движения вагона. Ступица служит для посадки колеса на подступичной части оси. Поверхность катания 4 обрабатывается по стандартному профилю.
В соответствии с ГОСТ 10791 цельнокатаные колёса изготовляют из сталей двух марок: 1 - для пассажирских вагонов локомотивной тяги, немоторных вагонов электро- и дизель-поездов; 2 - для грузовых вагонов дорог колеи 1520 мм с нагрузкой от оси на рельсы до 228 кН.
Ободья колёс подвергаются упрочняющей термической обработке путём прерывистой закалки и отпуска.
На процессы взаимодействия колёс с рельсами и безопасность движения поездов существенно влияет профиль поверхности катания. Стандартный профиль поверхности обода колеса (рис. 3, а) распространяется на колёса для колёсных пар грузовых и пассажирских вагонов локомотивной тяги, немоторных вагонов электро- и дизель-поездов, а также путевых машин. Профиль поверхности обода колеса, приведенный на рис. 3 б, применяется для колес колесных пар пассажирских вагонов, эксплуатируемых со скоростями движения свыше 160 км/ч, а для колёс вагонов промышленного транспорта используется специальный криволинейный профиль (рис. 3, в).
Каждый из приведенных профилей поверхности катания колеса имеет гребень, служащий для направления движения и предохранения от схода колёсной пары. Он имеет высоту 28 мм, измеряемую от его вершины до горизонтальной линии, проходящей через точку пересечения круга катания с профилем. Угол наклона наружной грани гребня оказывает влияние на безопасность движения: его увеличение повышает устойчивость колёсной пары на рельсах и уменьшает износ. Стандартный профиль (рис. 3, а)имеет конусность рабочей части 1:10, которая обеспечивает центрирование колёсной пары при её движении на прямом участке пути и предотвращает образование неравномерного износа по ширине обода колеса, а также улучшает прохождение кривых участков пути. Вместе с тем, конусность 1:10 создает условия для появления извилистого движения, что неблагоприятно влияет на плавность хода вагона. Поверхность профиля катания колеса с конусностью 1:3,5 гораздо реже катится по рельсу, поэтому она меньше изнашивается. Благодаря наличию этой конусности и фаски 6 мм х 45° наружная грань б (рис. 2) приподнимается над головкой рельса даже при наличии допустимого проката, наплыва металла и других дефектов поверхности катания колёс, обеспечивая безопасный проход стрелочных переводов.

Профиль колеса

Профиль поверхности катания обода для колёсных пар пассажирских вагонов, эксплуатируемых со скоростями движения свыше 160 км/ч (рис. 3, б), имеет горизонтальную площадку между размерами от 60,7 до 70 мм, а далее конусности 1:50; 1:10; 1:3,5 – и фаску 6 мм х 45о. Наружная грань гребня составляет 65о к горизонтали вместо 60о, как это предусмотрено в стандартном профиле (рис. 3, а),переходные радиусы закруглений также изменены. Цилиндрическая часть катания, обработанная в соответствие с горизонтальной частью профиля, исключает извилистое движение колёсной пары. Вместе с уменьшенной конусностью до 1:50 рабочей части колеса она не допускает ухудшения плавности хода вагона. Увеличение угла наклона наружной грани гребня совместно с изменением профиля рабочей части поверхности катания колеса улучшает устойчивость движения колёсной пары, способствует уменьшению износа гребня, повышает безопасность движения вагонов скоростных поездов.

Примечание: Наш внимательный читатель Алексей Николаевич Дывыдов прислал ряд замечаний по тексту данной статьи. Сейчас действует ГОСТ 9036-88 «Колеса цельнокатаные", а наш материал базируется на более ранних нормативных документах.Прилагаем эти замечания в виде документа doc (СКАЧАТЬ ЗДЕСЬ). Алексею Николаевичу выражаем огромную благодарность.


Упругие колёса - более сложной конструкции. Имея упругие элементы между ободом и колесным центром, они обладают целым рядом преимуществ, особенно важных для вагонов скоростных пассажирских поездов, трамваев и метрополитена. При конструировании учитывается, чтобы в эксплуатации такое колесо обладало следующими качествами: смягчало вертикальные и боковые толчки; имело минимальную величину необрессоренной массы; уменьшало шум при движении вагона; обеспечивало упругость передачи крутящего момента в моторных вагонах при движении и торможении; снижало напряжения в элементах колёсной пары и сопряжённых с ней деталей.
Идея применения упругих колёс появилась давно. Известны колёса с деревянными элементами, бумажные колёса с дисками из прессованной бумажной массы, колёса с резиновой прокладкой между бандажом или ободом и центром и др. Деревянные и бумажные колёса обладали существенными недостатками, поэтому они не получили распространения. Попытки конструировать колёса с резиновой поверхностью катания также не увенчались успехом вследствие того, что оказался чрезвычайно низким коэффициент сцепления между колесом и влажным рельсом. В дальнейшем проблема создания упругого колеса решалась путём введения в конструкцию резиновой прокладки между бандажом или ободом и центром, а также применения пневматической шины.
В некоторых сериях вагонов Московского и других метрополитенов применяется упругое колесо, в котором бандаж 8 особой формы (рис. 4) насажен не на колесный центр, а на центральный диск 7.
Для дополнительного крепления бандажа предусмотрено предохранительное кольцо 9. Между центральным диском 7 и колёсным центром 11 расположены восемь резиновых вкладышей 6, подверженных деформации сдвига. Вкладыши с двух сторон армированы стальными листами. Посредством нажимной шайбы 3 и шпилек 2 с гайками 1, попарно связанными пластинчатыми шайбами 12, вкладыши 6 прижаты к колёсному центру 11 и центральному диску 7. Нажимная шайба 3 фиксируется штифтами 4 и болтами 5. Для отвода тока от колеса к рельсу имеются два гибких шунта 10,соединяющих колёсный центр с центральным диском.

Упругое колесо

Рис. 4. Упругое колесо болтовой конструкции: 1 - гайка; 2 - шпилька; 3 - шайба нажимная; 4 - штифт; 5 - болт; 6 - резиновый вкладыш; 7 - центральный диск; 8 - бандаж; 9 - предохранительное кольцо; 10 - шунт; 11 - колесный центр

Испытания показали, что применение таких колёс способствует уменьшению ускорений, особенно необрессоренных масс вагона, а также снижению уровня боковых сил и коэффициентов динамики, гашению высокочастотных шумовых колебаний. Однако болтовое крепление элементов в такой конструкции упругого колеса недостаточно надёжно, резиновые элементы имеют малый срок службы, который может быть увеличен при правильном подборе вкладышей по их жёсткости. Поэтому по сравнению с болтовой более целесообразной считается сварная конструкция упругого колеса с резиновыми прокладками (рис. 5).

Упругое колесо

Рис. 5. Упругое колесо сварной конструкции

Повышение упругости колеса и уменьшение необрессоренной массы достигается также за счёт применения колёсных центров, изготовленных из алюминиевых сплавов. Такие центры из сплава марки АМг6 выпускались и испытывались в 70-х годах на российских и американских железных дорогах. Однако такие колёса, имея ненадёжную бандажную конструкцию, обладают существенным различием величин коэффициента объёмного расширения стального бандажа и алюминиевого центра. Сложным также является обеспечение надёжного соединения алюминиевого центра со стальной осью. Нарушение прочности этих соединений особенно проявляется при изменении температуры во время торможения. С целью предотвращения нагрева бандажей тормозными колодками при исполь­зовании таких колёс в некоторых странах применяют дисковые тормоза. В Германии велись исследования возможности применения колесных центров из стеклопластика.

Технологический процесс изготовления цельнокатаного колеса

Изготовление колеса

Для изготовления колес используют стальные слитки массой 3,4 - 4 т, которые раскраивают на шесть - семь заготовок, используя слиткоразрезные станки с последующей ломкой на прессах усилием 1960 - 4067 кН.


Нарезанные заготовки 1 подают в кольцевые газовые печи для нагрева в течение 5,6 - 6,0 ч.

  • После нагрева  производится предварительная осадка 2 (усилием 19600 кН)
  • Затем производится осадка в кольце 3.
  • Выполняется разгонка металла пуансоном 4 (усилием 4960 кН).
  • Предварительная  формовка ступицы и прилегающей к ней части диска 5 (усилием  9800 кН).
  • Прокатка  обода и  прилегающей к нему части диска 6.
  • Выгибка диска  и калибровка геометрической формы колеса 7 (усилием 349 - 330 кН).
  • Прошивка  отверстия в ступице 8.

Все процессы изготовления колес выполняются на прессопрокатной линии.

После этого колеса подают на противофлоксную обработку, которая ведется в конвейерных печах путем нагрева до 400 - 650 оС, выдержка при этой температуре не менее 4,5 ч. Все колеса подвергают прерывистой закалке и отпуску на специальных установках. 
Перед закалкой колеса нагревают в кольцевых печах до температуры 800 - 850 оС в течение от 80 до 110 мин. Затем колесо укладывают на специальный стол, который поворачивается в вертикальное положение.
С помощью приводного ролика колесо вращается и одновременно его обод охлаждается водой, имеющей  температуру 20 - 35 оС в течение 100 - 200 с.  После закалки колесо возвращается в горизонтальное положение. Колеса складывают в стороны для остывания в течение 30 - 40 мин, а затем их передают для отпуска в кольцевые электропечи.

Закалка колеса

Отпуск производится в течение 2,5 - 3,0 ч при температуре 470 - 520 оС. После термообработки колеса поступают на механическую обработку, которая выполняется на специальных станках.
Механической обработке подлежат:  поверхность катания;  гребень;  торцевая поверхность обода с внутренней стороны  торцов и отверстие ступицы. 

Обточенные колеса

Колеса подвергают ударным испытаниям на копровых установках.  Для этого колесо подается на копер, где на него падает груз массой 1 - 3 т с высоты 11 м.
В процессе изготовления колес на наружной грани обода в горячем состоянии наносят клейма.

Клейма на колесе

Клейма на колесе

В начало страницы
Назад <<< >>> Вперед

Осмотр вагонов

Холодильные установки вагонов

Быков Ремонт вагонов

Болотин Проводник пассажирских ванов

Гридюшко Вагонное хозяйство

Системы автоматизации ремонта вагонов

Коломийченко автосцепка