ТЕЛЕЖКА МОДЕЛИ КВЗ-И2Предназначена для рефрижераторных секций БМЗ (РС-4).
На фото - тележка КВЗ-И2 Технические данные тележки КВЗ-И2
Тележка КВЗ-И2 построена по габариту 02-ВМ. Для обеспечения постоянства уровня автосцепок вагона тележки по высоте изготавливают четырех групп. Тележки I и II группы подкатывают под кузова рефрижераторных грузовых вагонов, а III и IV — под кузова вагонов с машинным отделением, имеющих повышенную массу. Тележки III и IV групп имеют более жесткое рессорное подвешивание и большую высоту, чем I и II групп. Номер группы и высоту тележки наносят в виде трафарета на раму.
Рама тележки сварная и образована двумя продольными боковыми 1, двумя средними поперечными балками 2, двумя концевыми поперечными 3 и четырьмя вспомогательными продольными 4 балками.
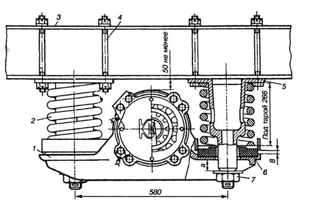
Рисунок - Рама тележки КВЗ-И2 Буксовое подвешивание включает две однорядные пружины 2, которые через резиновые шайбы 6 опираются на кронштейны 1 буксы, поддерживая раму тележки. Для дополнительной связи букс с рамой тележки в буксовом подвешивании используются стальные литые шпинтоны 5. Каждый шпинтон крепится к продольной балке 3 рамы тележки при помощи четырех болтов 4. На нарезную часть шпинтона навертывается гайка 7 так, что между шайбой и кронштейном буксы остается зазор а.
Рисунок - буксовое подвешивание тележки КВЗ-И2 Центральное подвешивание тележки состоит из надрессорной балки сварной конструкции, двух эллиптических рессор 3, подрессорной балки 4, двух люлечных балок 14, четырех люлечных подвесок 15 и предохранительных скоб. Штампованная подрессорная балка вместе с подрессорными планками крепится болтами к подлюлечным балкам. Обозначения к рисункам выше: 1 — рама; 2 — буксовое подвешивание; 3 — центральное подвешивание; 4 — подрессорная балка; 5 — тормозное устройство; 6 — шкворень; 7 — шпинтоны; 8 — надрессорная балка; 9 — место для трофарета; 10 — кронштейн буксы, 1 I — пружина; 12 — реэиновая шайба; 13 — гайка, 14 — люлвчная балка; 15 — люлечная подвеска; 16 — предохранительная скоба Эллиптическая рессора Галахова, примененная в центральном подвешивании, подробно описана здесь. |











