ТЕЛЕЖКА ПАССАЖИРСКОГО ВАГОНА ТВЗ-ЦНИИ-М
Отличительной особенностью современных пассажирских вагонов является наличие двойного рессорного подвешивания — буксового и центрального. Обе ступени подвешивания работают последовательно, обеспечивая тем самым высокую суммарную гибкость рессорного подвешивания.
Рама пассажирской тележки опирается на бесчелюстные буксы через упругие элементы буксового подвешивания, которые выполняют функции первичного подрессоривания. В центральном подвешивании в отличие от грузовых тележек для гашения колебаний используются исключительно гидравлические демпферы.
Типовыми пассажирскими тележками являются двухосные тележки моделей 68-875 (68-876) и 68-4065 (68-4066), обеспечивающие нормальную эксплуатацию вагонов со скоростью 160 км/ч. Все эти четыре модели называют ТВЗ-ЦНИИ-М. Здесь ТВЗ - Тверской вагоностроительный завод, ЦНИИ - Центральный Научно-Исследовательский Институт железнодорожного транспорта; теперь он называется ВНИИЖТ; М- модернизированная. Особенности каждой из этих моделей описаны ниже. В эксплуатации имеются также тележки типа КВЗ-ЦНИИ, которые являются предшественницей тележек ТВЗ-ЦНИИ-М. Даже и название заимствовано от старых тележек (город Тверь назывался раньше Калинин, отсюда КВЗ).
Все эти тележки предназначены для пассажирских, почтовых, багажных, а также специальных вагонов массой брутто до 72 т и различаются жесткостью рессорного подвешивания. Техническая характеристика тележек пассажирских вагонов приведена в таблице
Показатель |
Модель тележки
|
|
|
68-875
|
68-876
|
68-4065
|
68-4066
|
|
Масса, т
|
6,9
|
7,4
|
6,8
|
7,4
|
|
База, мм
|
2400
|
2400
|
|
Конструктивная скорость, км/ч
|
160
|
160
|
|
Тип рессорного подвешивания
|
Двойное: центральное люлечное и буксовое
|
|
Суммарный статический прогиб от массы брутто, мм
|
225
|
233
|
199
|
215
|
|
Тормоз
|
Колодочный
|
|
Габарит ГОСТ 9238
|
02-ВМ
|
02-ВМ
|
Тележка модели 68-875 (ТВЗ-ЦНИИ-М)
Тележка представляет собой вариант дальнейшего развития конструкции тележки типа КВЗ-ЦНИИ.

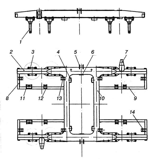
Она состоит из двух колесных пар с буксовыми узлами 2, двойного рессорного подвешивания — буксового 3 и центрального 5, рамы 1, надрессорной балки 6 и тормозной рычажной передачи 7. Кузов опирается на тележку через скользуны 10 надрессорной балки; связь рамы с буксами — упругая шпинтонно-бесчелюстная; тормоз — колодочный с двусторонним нажатием колодок.

Рама тележки — сварная Н-образной формы. Она состоит из двух боковых 2, двух средних поперечных 10, четырех укороченных концевых 8 и четырех вспомогательных продольных 9 балок. Элементы рамы изготавливают из стали СтЗсп или 09Г2Д.
Боковые балки 2 рамы сварены из двух швеллеров № 20В и имеют замкнутое коробчатое сечение. В средней части сверху и снизу они перекрыты стальными усиливающими листами. К боковым балкам приварены снизу опорные плиты 3 с центрирующими кольцами, сбоку — кронштейны 5 и 7 для крепления соответственно гасителей колебаний и продольных поводков, а также упоры (вертикальные скользуны) 6 для ограничения перемещения надрессорной балки поперек вагона. К опорным плитам прикреплены болтами шпинтоны 1 буксового подвешивания. В нижней части каждой боковой балки имеются два овальных отверстия для пропуска тяг-подвесок люльки и четыре отверстия для предохранительных скоб центрального подвешивания.

Средние поперечные балки 10 сварные коробчатого сечения и изогнуты на участках между боковыми и вспомогательными продольными балками. Каждая балка сварена из двух вертикальных и двух горизонтальных листов толщиной 10 мм. К балкам приварены упоры (вертикальные скользуны) 4, ограничивающие перемещения надрессорной балки вдоль вагона при выходе из строя продольных поводков, а также кронштейны 13 для подвесок тормозных башмаков. В отверстия этих кронштейнов вварены втулки.
Вспомогательные продольные 9 и укороченные концевые 8 балки предназначены для крепления деталей тормозной рычажной передачи. Эти балки отштампованы из листов толщиной 14 мм корытообразного профиля. У продольных балок этот профиль открытый, а у концевых закрыт приваренной планкой толщиной 8 мм. К вспомогательным продольным балкам приварены кронштейны 12 подвески рычагов и 77 мертвой точки, а к концевым — кронштейны 14 для подвесок тормозных башмаков.
Рессорное подвешивание — двойное: буксовое и центральное.

Буксовое подвешивание состоит из четырех комплектов. Каждый комплект подвешивания — расположенный на одной буксе — включает две наружные пружины 1, поддерживающие раму 15 тележки и опирающиеся на кронштейны корпуса буксы 14, два фрикционных гасителя колебаний, расположенных внутри наружных пружин, и два резиновых кольца 8.
В этой ступени подвешивания для дополнительной связи букс с рамой тележки применяются шпиптоны 12, закрепляемые на боковой балке рамы. Шпинтоны не позволяют буксам, а следовательно, и колесным парам разъединяться с рамой тележки при сходе вагона с рельсов и совместно с пружинами ограничивают перемещения букс в горизонтальной плоскости.
Наружные пружины опираются на металлические поддоны 7, каждый из которых представляет собой опорное кольцо, свареьшое заодно с кожухом. Между поддонами и кронштейнами корпуса буксы вводятся резиновые кольца 8, предназначенные доя уменьшения высокочастотных колебаний рамы и снижения шума внутри вагона. Резиновые кольца устанавливаются в углублениях кронштейнов корпуса буксы.
К элементам фрикционного гасителя колебаний относятся шпинтонная втулка 3, шесть фрикционных клиньев 5, верхнее 4 и нижнее 13 опорные конусные кольца, а также внутренняя пружина 2. Фрикционные клинья, обхватывающие шпинтонную втулку, связаны кольцом 6. Стальная втулка 3 закрепляется неподвижно на шпинтоне 12 разрезным конусом 77, тарельчатой пружиной 9 и гайкой 10, навернутой на конец шпинтона. Фрикционные гасители демпфируют вертикальные бания и создают еще одну дополнительную связь букс с рамой тележки в горизонтальной плоскости. Работа фрикционного гасителя колебаний тележки описана выше. Коэффициент относительного трения фрикционного гасителя колебаний 0,05.
Центральное подвешивание — люлечное. Оно состоит из двух люлек, четырех двух- или трехрядных пружин 5, двух гидравлических гасителей колебаний 4 и двух продольных поводков 7.

Рисунок - Центральное подвешивание тележки модели 68-875
К элементам люльки относятся: стальной корытообразный поддон 2, шарнирно подвешенный к боковым балкам рамы при помощи вертикально расположенных люлечных сочлененных подвесок 6.
Основное преимущество тележки модели 68-875 по сравнению с КВЗ-ЦНИИ — увеличение поперечной гибкости центрального подвешивания. Обеспечивается это за счет перехода от двухзвенной шарнирно сочлененной люлечной подвески к однозвенной в поперечном направлении. Люлечная подвеска такой конструкции имеет неподвижное звено — короткую тягу-подвеску 1 и подвижное звено — две серьги 7 увеличенной длины. Тяга-подвеска 1 соединена с серьгами 7 валиком 4. Серьги в верхней и нижней частях связаны валиками (4 и 6) с опорными шайбами 5. Поперечные колебания люльки осуществляются в этом случае только за счет серег.

Рисунок - Люлечная подвеска тележки модели 68-875
Неподвижное без поворотов в поперечном направлении закрепление тяги-подвески достигается соответствующим конструктивным исполнением узла соединения ее с рамой тележки. В таком узле тяга-подвеска, имеющая Т-образную головку, опирается на рамку 2, установленную внутри боковой балки рамы на специальные вкладыши 3, приваренные к нижним полкам швеллеров боковой балки рамы. Наклонные сферические поверхности заплечиков Т-образной головки и сферические выемки на рамке исключают поворот тяги-подвески в поперечном направлении и в то же время обеспечивают свободный поворот ее в продольном.
На случай обрыва подвесок люльки и падения поддона с пружинами предусмотрено предохранительное устройство, состоящее из четырех скоб 7. Скобы закрепляются на боковых балках рамы и обхватывают снизу крюки поддона.
Люльки связаны надрессорной балкой 14, которая опирается своими концевыми частями на пружины, размещенные в поддонах. На каждом поддоне установлено по две двух-или трехрядные пружины 5. Рядность пружин зависит от массы тары вагона. Более гибкие двухрядные пружины устанавливают в тележки, подкатываемые под вагоны с массой тары до 54 т, а более жесткие трехрядные — под вагоны с массой тары более 54 т.
Колебания кузова в вертикальной и горизонтальной плоскостях гасят гидравлические гасители 4, устанавливаемые наклонно под углом 45°. Нижними концами гасители крепятся к кронштейнам 9 надрессорной балки, а верхними — к кронштейнам 8 рамы тележки через резиновую втулка 3. Коэффициент сопротивления гасителя 115 кН-с/м, а ход — 190 мм.
Поводковые устройства, расположенные диагонально и связывающие надрессорную балку с рамой тележки, упруго препятствуют перекосу этой балки от действия момента сил трения, возникающих между скользунами тележек и кузова. Продольный поводок тележки состоит из тяги 13, резинометаллических пакетов 10 и гаек 11 и 12. Длину поводка регулируют при помощи гаек 11 и 12 за счет запаса резьбы на левой цапфе тяги. Для поворота или удержания тяги от вращения ее левый конец имеет форму квадрата.
Надрессорная балка тележки — сварная коробчатого сечения из стали марок СтЗсп или 09Г2Д. Верхний лист 5 балки состоит из трех частей: среднего толщиной 10 мм и концевых — 16 мм. Концевые части верхнего листа уширены и имеют в нижней части специальные посадочные места (гнезда) 7 для комплектов пружин.

Рисунок - Надрессорная балка
В средней части балки приварены кольцо 3, выполняющее роль подпятника, и втулка 4 для установки шкворня. Место размещения подпятника усилено ребрами 10 и планкой 11. К балке приварены также две опоры 2 с коробками 9 для опорных (горизонтальных) скользунов и с вертикальными скользунами 8. Вертикальные боковые скользуны соприкасаются со скользунами на средних поперечных балках и ограничивают продольные перемещения надрессорной балки. На опорах 2 крепятся кроме того вертикальные торцовые скользуны 15, ограничивающие поперечные перемещения надрессорной балки. К надрессорной балке приварены также кронштейны 1 для направляющих поводков и 6 для гасителей колебаний.
Опора кузова на тележку имеет скользун 14 тележки, металлическую 13 и резиновую 12 прокладки. Резиновая прокладка укладывается в коробку 11 под скользун для амортизации и поглощения шума, металлическая — для регулирования высоты установки скользуна. При такой схеме опирания кузова на тележку повышается плавность хода вагона вследствие уменьшения боковой качки и гашения извилистого движения тележки. Для обеспечения свободного поворота тележки относительно кузова при прохождении кривых участков пути момент трения между скользунами подбирается в пределах 20-28 Н.м. Для реализации нормируемого момента трения в скользунах надрессорную балку связывают с рамой тележки продольными поводками и применяют разнородные материалы: скользун кузова изготовляют из стали марки 40Х, а скользун тележки — из полимерной композиции. Для исключения задиров рабочие поверхности скользунов шлифуют и смазывают.
Для принятой схемы опирания кузова на тележку между подпятником надрессорной балки и пятником кузова имеется зазор 16 мм. Подпятник в этом случае воспринимает только горизонтальные усилия и служит направляющей при посадке кузова на тележки. Пятник кузова вагона соединен с подпятником тележки замковым шкворнем.

Рисунок - Замковый шкворень
Шкворень состоит из двух полушкворней и расположенной между ними замковой планки. Он позволяет быстро разъединить их, удалив вначале замковую планку, а затем оба полушкворня. Шкворень предупреждает отрыв тележки от кузова и служит кроме того осью вращения тележки относительно кузова при прохождении кривых участков пути.
Установка надрессорной балки в среднее положение производится изменением длины продольных поводков. Регулируя длину поводка устанавливают требуемый зазор между вертикальными скользунами надрессорной балки и средними поперечными балками рамы. Для предотвращения падения надрессорной балки имеется предохранительная скоба.
Под некотловую сторону вагона подкатываются тележки модели 68-875, под котловую — модели 68-876. Тележка модели 68-876 оборудована текстропно-карданным приводом к генератору от торца оси. Она имеет более жесткое подвешивание и концевую поперечную балку, на которой крепятся генератор, ведомый шкив привода с натяжным устройством и карданный вал.
Тележка модели 68-4065 (68-4066). Тележки подкатываются под вагоны с системой кондиционирования воздуха. Привод подвагонного генератора здесь повышенной мощности (32 кВт) и выполнен от средней части оси. Все остальные элементы тележек аналогичны тележкам 68-875 и 68-876.
Далее приведены несколько фотографий, позволяющих составить более наглядное предствление о тележке ТВЗ-ЦНИИ-М:





На этой тележке хорошо виден редуктор привода подвагонного генератора от средней части оси
В начало страницы
Назад <<< >>> Вперед
|
|