АВТОСЦЕПКА СА-3. КОНСТРУКЦИЯ
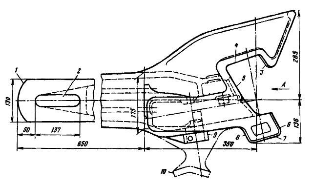
Автосцепка СА-3 (рис. 1) является тягово-ударной нежесткого типа. Она состоит из корпуса 4 и деталей механизма сцепления: замка 5, замкодержателя 2, предохранителя 3, подъемника 6, валика подъемника 7.

Рис 1 - Автосцепка СА-3
Головная часть автосцепки (голова) переходит в удлиненный пустотелый хвостовик, в котором имеется отверстие 1 для размещения клина, соединяющего автосцепку с тяговым хомутом. Голова автосцепки имеет большой 10 и малый 9 зубья. В пространство между малым и большим зубьями, в так называемый зев автосцепки, выступают замок 5 и замкодержатель 2, взаимодействующие в сцепленном состоянии со смежной автосцепкой.
Большой зуб имеет три усиливающих ребра: верхнее, среднее и нижнее, плавно переходящие в хвостовик и соединенные между собой перемычкой. Голова автосцепки заканчивается сзади упором 8. предназначенным для передачи при неблагоприятном сочетании допусков жесткого удара на хребтовую балку через концевую балку рамы вагона и ударную розетку.
Очертание в плане малого 7 (рис. 2) и большого 2 зубьев, а также выступающей в зев части замка 3 называется контуром зацепления автосцепки.

Рис. 2. Стандартный контур зацепления автосцепки
Для обеспечения взаимосцепляемости всех автосцепок СА-3 контур зацепления должен соответствовать ГОСТ 21447—75. Линия I-I является продольной осью автосцепки. Внутренние стенки кармана корпуса, в котором находится механизм автосцепки, смещены относительно этой оси на 10°, а замыкающая поверхность замка расположена под углом 15°. Вследствие такого размещения механизма сцепления равномерно распределяется продольное усилие между замком, малым и большим зубьями. Ось II-II (ось зацепления) перпендикулярна оси I—I и проходит через точку О, называемую центром зацепления. По оси II-II обычно устанавливают расстояние автосцепки от концевой балки.
Корпус (рис.3), являющийся основной частью автосцепки, предназначен для передачи тяговых и ударных нагрузок, а также размещения деталей механизма сцепления. Хвостовик корпуса имеет постоянную высоту по длине. Его торец 1 — цилиндрический, что обеспечивает перемещение автосцепки в горизонтальной плоскости. Часть хвостовика, расположенная между отверстием 2 для клина тягового хомута и торцом, называется перемычкой.

Рис. 3 - Корпус автосцепки
Поверхности контура зацепления корпуса в сцепленном состоянии взаимодействуют со смежной автосцепкой: при сжатии усилие воспринимается ударной 6 и боковой 7 поверхностями малого зуба, ударной стенкой 5 зева и боковой поверхностью 4 большого зуба, а при растяжении — тяговыми поверхностями 8 малого и 3 большого зубьев. Тяговая, ударная и боковая поверхности малого зуба, а также тяговая поверхность большого зуба в средней части по высоте имеют вертикальную площадку длиной 160 мм (80 мм вверх и 80 мм вниз от продольной оси корпуса). Эти поверхности выше и ниже вертикальной площадки скошены для улучшения условий работы сцепленных автосцепок, когда между их продольными осями в вертикальной плоскости возникает угол (при прохождении горба сортировочной горки).
Корпуса автосцепок ранних выпусков имеют сбоку со стороны малого зуба прилив 10 (ухо), на который в период перехода с винтовой упряжки на автосцепку навешивали скобу винтовой упряжи смежного вагона во время маневровых работ, а также в передаточных поездах. После перевода подвижного состава на автосцепку новые корпуса сначала изготовлялись с приливом вместо уха, а затем без прилива с утолщением стенки малого зуба.
У выпускаемых корпусов автосцепок высота малого зуба увеличена и его нижняя кромка используется для приварки ограничителя вертикальных перемещений, необходимого для некоторых типов вагонов, поэтому кромка выполнена горизонтальной.

Рис. 4 - Корпус автосцепки: вид А
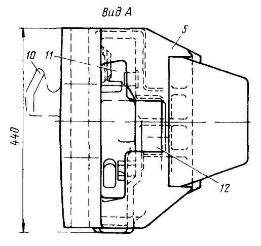
На корпусе со стороны малого зуба сделан прилив 9 с отверстиями для валика подъемника и запорного болта. В ударной стенке 5 зева имеются два окна: большое 11 для выхода в зев замка и малое 12 для выхода лапы замкодержателя.
Приливы и отверстия в кармане корпуса служат для размещения деталей механизма и правильного их взаимодействия.

Рисунок 5 -Внутренняя полость (карман) автосцкпки
Серповидный прилив (рис. 5) вверху на внутренней стенке малого зуба ограничивает перемещение замка внутрь кармана. Нижняя часть прилива переходит в полочку 12, на которую опирается верхнее плечо предохранителя. В стенке корпуса со стороны малого зуба имеется отверстие 15 с приливом снаружи для размещения толстой цилиндрической части стержня валика подъемника, а со стороны большого зуба — отверстие 15 для тонкой цилиндрической части стержня. Рядом с этим отверстием находятся приливы 16, которые служат опорами для подъемника, а выше — шип 13 для навешивания замкодержателя.
На дне кармана корпуса имеются отверстия: 14 — для сигнального отростка замка, 17 — для направляющего зуба замка и 18 — для выпадания мусора, случайно попавшего в карман. Ребро 5 стенки 9 служит ограничителем ухода лапы замкодержателя внутрь корпуса. Внизу полости кармана, ограниченной стенкой 9 и ударной стенкой зева, имеется отверстие, которое пересекает нижнее ребро большого зуба. Через это отверстие извне воздействуют на замкодержатель для восстановления сцепления ошибочно расцепленных автосцепок. По всей высоте малого зуба проходит вертикальное отверстие 7, которое выполнено для уменьшения массы корпуса и улучшения технологии литья. Вдоль хвостовика на его горизонтальных станках с выходом в переходную зону расположены ребра 10 жесткости. Выпускаемые корпуса автосцепки имеют усиление переходной зоны, повышающее их предел выносливости.
Замок (рис. 6) своей замыкающей частью 5 запирает сцепленные автосцепки. Утолщение замыкающей части к наружной кромке препятствует выжиманию замка из зева внутрь кармана корпуса силами трения при перемещении сцепленных автосцепок друг относительно друга во время хода поезда. На цилиндрический шип 7 навешивается предохранитель. Через овальное отверстие 2 проходит валик подъемника. Замок опирается поверхностью 4 на наклонное дно кармана корпуса и перекатывается по нему во время сцепления или расцепления автосцепок, при этом направляющий зуб 3 препятствует перемещению опоры замка по дну кармана.

Рис 6 - Замок

На цветной картинке обозначение частей замка другое: 1 - замыкающая (тяжелая) часть; 2 - шип для навешивания предохранителя; 3 -овальное отверстие; 4- сигнальный отросток; 5 - лпорная цилиндрическая поверхность; 6 -зуб
Для передвижения замка внутрь кармана корпуса при расцеплении автосцепок служит прилив 5, имеющий прорезь 6 под нижнее плечо предохранителя По сигнальному отростку 1 судят о положении замка в автосцепке при ее наружном осмотре сбоку вагона Для лучшей видимости отросток окрашивают красной краской.
Замки прежних выпусков имеют сигнальный отросток, по форме соответствующий показанной штрихпунктирной линией, практика показала, что такие сигнальные отростки в месте перехода к корпусу замка отламывались вследствие вибрационных нагрузок
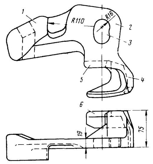
Замкодержатель (рис 7) вместе с предохранителем удерживает замок в нижнем положении при сцепленных автосцепках, а вместе с подъемником — в верхнем при расцепленных автосцепках до разведения вагонов

Рисунок 7 - Замкодержатель

Обозначения на цветном рисунке: 7 - лапа; 8 - расцепной угол; 9 - проивовес; 10 - овальное отверстие
Лапа 4 замкодержателя взаимодействует со смежной автосцепкой В собранном механизме лапа под действием противовеса 7 выходит в зев автосцепки Хвостовик 6 лапы служит как направляющая. На него воздействуют для восстановления сцепленного состояния у ошибочно расцепленных автосцепок. Овальное отверстие 3 в стенке 2 предназначено для навешивания на шип корпуса. Замкодержатель может не только поворачиваться на шипе, но и перемещаться в вертикальной плоскости Снизу под овальным отверстием расположен расцепной угол 5, взаимодействующий с подъемником замка.
Верхнее плечо 1 (рис 8) предохранителя в сцепленном состоянии перекрывается противовесом замкодержателя, что препятствует уходу замка внутрь кармана корпуса, а нижнее плечо 4, взаимодействуя с подъемником при расцеплении автосцепок, выводит верхнее плечо из зацепления с противовесом замкодержателя. Отверстие 2 служит для навешивания на шип замка. Фаска 5 на нижнем плече предохранителя облегчает проход нижнего плеча в паз замка при расцеплении автосцепок, а фаска у основания верхнего плеча и вокруг втулки 3 предназначена для того, чтобы предохранитель не задевал за шип для замкодержателя в корпусе и не препятствовал перемещению замка при боковых отклонениях предохранителя.

Рисунок 8 -Предохранитель

Обозначения на цветном рисунке:14 - нижнее плечо; 15- верхнее плечо; 16 - отверстие
Чтобы предупредить излом нижнего плеча от действия инерционной нагрузки, в нем предусматривают углубления 6, уменьшающие его массу. Предохранитель делают штампованным и литым. Литой вариант предохранителя изготавливается из стали, имеющей высокий предел выносливости.
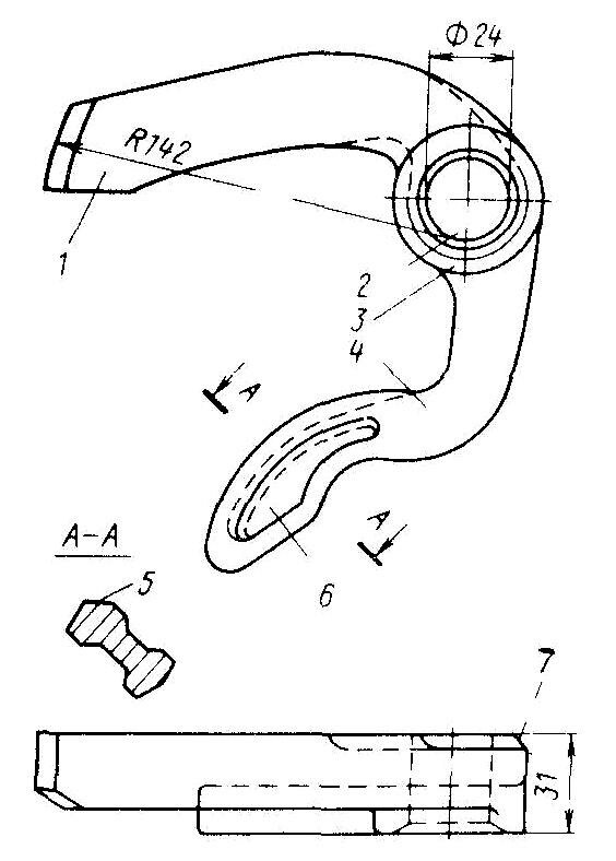
Подъемник (рис. 9) удерживает вместе с замкодержателем замок в расцепленном положении до разведения вагонов и служит для подъема предохранителя и перемещения замка из зева внутрь кармана корпуса.

Рисунок 9 - Подъемник

Обозначения на цветном рисунке: 11 - квадратное отверстие; 12 - узкий палец; 13 - широкий палец
Широкий палец 1 поднимает предохранитель и уводит замок, а узкий палец 2 взаимодействует с расцепным углом замкодержателя. Отверстие 5 предназначено для квадратной части стержня валика подъемника. Буртик 4 препятствует западанию подъемника в овальное отверстие замка. Углубление 3 предусмотрено для опоры подъемника на прилив в кармане корпуса.
Валик подъемника (рис.10) предназначен для поворота подъемника замка при расцеплении автосцепок и ограничения выхода замка из кармана корпуса в зев собранной автосцепки.

Рисунок 10 - Валик подъемника

Обозначение на цветном рисунке: 17 - отверстие для цепочки; 18 - цилиндрическая часть; 19 - квадратная часть; 20 - балансир
Балансир 1, соединяемый с цепью расцепного привода, облегчает возвращение валика подъемника в исходное положение после разведения автосцепок и в других случаях. Стержень валика состоит из толстой 2, тонкой 4 цилиндрических и квадратной 3 частей. В собранной автосцепке цилиндрические части располагаются в соответствующих отверстиях корпуса, а квадратная часть находится в отверстии подъемника Толстая цилиндрическая часть удерживает замок от выпадания, имеющаяся на ней выемка 5 предназначена для запорного болта. Конические углубления 7 на балансире и 6 на торце стержня служат для центровки валика подъемника на станке при обработке поверхностей стержня во время ремонта.
В начало страницы
Назад <<< >>> Вперед
|