ВОЗДУХОРАСПРЕДЕЛИТЕЛЬ УСЛ. № 483. ДЕЙСТВИЕ МАГИСТРАЛЬНОЙ ЧАСТИ
Таким образом, получается что три важнейшие функции воздухораспределитель способен выполнять и без магистральной части. Отсюда вытекает назначение магистральной части – выполнять три оставшиеся функции:
- Ускорять и поддерживать незатухающую тормозную волну путем дополнительной разрядки ТМ в начальной фазе торможения;
- Иметь различные режимы торможения и отпуска в зависимости от условий эксплуатации.
- Не реагировать на медленный темп изменения давления (темп мягкости) до 0,3 кг/см2 в минуту;
Рассмотрим действие магистральной части для реализации первой из указанных задач.
Торможение
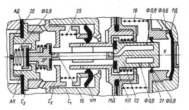
При снижении давления в ТМ на величину первой ступени с последующим переводом ручки крана машиниста в положение перекрыши, магистральная диафрагма 6 прогнется влево от перепада давлений между магистральной камерой МК, обозначенной красным цветом (где оно понизилось) и золотниковой камерой ЗК - желтый цвет (где оно пока осталось прежним). Кстати, интересно, что нет в магистральной части никаких золотников, а исторически сложившееся название - золотниковая камера - сохранилось. Несколько десятков лет назад был распределитель 270-002, в котором действительно были в этом узле золотники.

Итак, магистральная диафрагма прогнется влево. Вначале прогнется совсем чуть-чуть. При этом плунжер, который вставлен между дисками диафрагмы и, естественно, перемещается вместе с нею, толкнет толкатель 22, он, в свою очередь, толкнет клапан дополнительной разрядки 23 (будем называть его клапан ДР); он отойдет от седла и сообщит полость слева от манжеты дополнительной разрядки 32 (манжеты ДР) с атмосферой через канал дополнительной разрядки:
полость слева от манжеты ДР (она обозначена 31) > зазор между клапаном ДР и его седлом > канал дополнительной разрядки 30 > 4 отверстия диаметром по 6 мм во втулке штока главного поршня > тормозная камера ТК > осевое отверстие 2,8 мм в уравнительном поршне > Ат.
Вследствие этого давление в маленькой полости, расположенной левее манжеты ДР, очень быстро упадет до нуля. И манжета, сжимая свою пружину, сдвинется влево.
Про манжету ДР надо отдельно сказать несколько слов. Это не просто резинка, а резинка + латунный каркас в виде втулочки с отверстиями. Эта конструкция может сдвигаться влево, если усилие пружины слабее усилия сжатого воздуха из МК; и вправо, когда пружина сильнее. Из-за этого свойства Пархомов в своем учебнике называет её «челночной манжетой». Края резинки работают как манжета, а центральная часть – как клапан. На приведенной выше картинке это не очень наглядно видно, а вот на этом рисунке – гораздо понятней.

Вот она - челночная манжета ЧМ, прижатая пружиной 25 к своему седлу С1
Когда манжета ДР в правом положении – она перекрывает проход из МК через 6 отверстий по 2 мм. Именно так она и показана на рисунке. Когда она отодвинулась – этот проход открывается, воздух из МК через эти отверстия врывается внутрь узла трех клапанов, отгибает края манжеты ДР, через зазор до краев её втулки и через отверстия в самой втулке попадает в полость за манжетой, а оттуда, как описывалось выше, в КДР, ТК, Ат.
Вы поняли, что случилось? Клапан ДР работает, словно детонатор: от легкого, небольшого прогиба магистральной диафрагмы чуть-чуть приоткрылся клапан ДР и сбросил из полости ДР воздух в атмосферу. Но этим действием был спровоцирован сдвиг челночной манжеты ДР, которая произвела серьезную, значительную дополнительную разрядку магистральной камеры. Эту разрядку «почувствуют» воздухораспределители соседних вагонов – тем самым ускорится и не затухнет тормозная волна. От этой разрядки четко сработает и данный воздухораспределитель - диафрагма прогнется еще дальше влево, так что клапан ДР толкнет своей ножкой и отжмет от седла атмосферный клапан, через которы и магистральная камера, и полость слева от диафрагмы станут разряжаться в атмосферу через отверстие диаметрпом 0,9 мм.
Параллельно начнется и разрядка золотниковой камеры ЗК. Верхнее радиальное отверстие в плунжере (на черно-белой схеме оно обозначено диаметром 0,9), которое раншье находилось правее манжеты 21, при прогибе диафрагмы влево выходит из-за манжеты и соединяет ЗК через радиальный и осевой канал в плунжере с полость левее челночной манжеты и далее с атмосферой. Разрядка ЗК началась. Но затем она существенно ускорится, вот почему: клапан ДР своим ступенчатым выступом упрется в седло С3, а диафрагма с дисками и плунжерам еще продолжает движение влево. Клапан ДР остановится, остановится, уткнувшись в него и толкатель 16, остановится плужер и его клапан КП отойдет от седла в левом диске магистральной диафрагмы. И золотниковая камера будет разряжаться через 3 отверстия диаметром 1,2 мм каждое в правом диске, зазор между клапаном плунжера и его седлом. Эти каналы шире, разрядка ЗК идет быстрее. От разрядки ЗК смещается главный поршень и далее происходят процессы, описанные на предыдущей странице.
Перекрыша
Когда главный поршень сдвинется вправо, то первым делом его правая крайняя манжета перекроет канал дополнительной разрядки.

Из-за этого давление в полости 31 повысится и челночная манжета под воздействие своей пружины вернется на место вправо, прижмется к седлу и прекратит сообщение магистральной камеры МК с атмосферой.

Золотниковая камера еще некоторое время разряжается, но скоро давление в ней сравняется с давлением в МК. Тогда диафрагма выпрямится - встанет в серднее положение. Соответственно закроются клапана ДР и атмосферный; разрядка ЗК прекратится. Это и есть положение перекрыши.
Отпуск
Отпуск начинается с повышения давления в МК. Вследствие этого диафрагма прогибается вправо.

Из-за этого два отверстия на хвостовике левого диска выходят из под челночной манжеты и совмещаются с шесть отверстиями по кругу в ее седле. Из-за это воздух из МК поступает через осевой кнал плунжера, через верхний радиальный канал плунжера, через полость 8, через нижний радиальный канал плунжера 11, черезнижний осевой канал плунжера, через нижний радиальный канал 12 в золотниковую камеру 13. Давление в золотниковой камере повышается, об остальном мы говорили, рассматривая работу главной части.
Особенности отпуска хвостовых вагонов. Диафрагма прогибается вправо меньше, чем в голове. Из-под манжеты в полость 8 выходит только нижнее правое радиальное отверстие плунжера, а верхнее не выходит. ЗК не сообщается с МК, зато сообщается с РК. В ЗК после торможения давление меньше, чем в РК, из-за этого воздух из РК перетекаетв ЗК. В ЗК (справа от главного поршня) давление растет, а в РК (слева от главного поршня) уменьшается, отчего и происходит отпуск.
Равнинный и горный режимы
На горном режиме режимная диафрагма 17 пружинами с упоркой прижата к седлу настолько сильно, что ЗК не сообщатеся с РК. Поэтому при движении главного поршня влево воздух в РК сжимается - на предыдущей странице был описан отпуск на горном режиме. На равнинном режимная диафрагма отжата, поэтому по мере движения главного поршня влево воздух из РК "выжимается" в ЗК, что приводит к легкому полному (бесступенчатому) отпуску при любом, самом незначительном повышении давления в ТМ и ЗК.
Мягкость
Под мягкостью мы понимаем свойство воздухораспределителя не срабатывать на торможение, если темп снижения давления в тормозной магистрали составляет 0,2 – 0,5 кг/см2 за 1 МИНУТУ или медленнее. Такой темп бывает, когда после отпуска сверхзарядное давление ликвидируется через стабилизатор крана машиниста.
Во время зарядки воздух, наполняющий золотниковую камеру, поступает под клапан мягкости(поз.20). Когда давление в ЗК будет около 3 кг/см2 клапан приподнимется и откроет торцовую часть 21, через которую соединится золотниковая камера и магистральная камера. В этом, соединяющем их канале есть калиброванное отверстие 18 диаметром всего 0,5 мм. Раз при давлениив ЗК около 3 кг/см2 оно уже пересиливает пружину клапана мягкости, то при поездном положении, когда давление в ЗК > 5 кг/см2, клапан мягкости тем более остается открытым.
И вот, допустим, давление в ТМ (и, следовательно, в МК) медленно снижается. Из ЗК через отверстие 0,5 мм и торцовую часть клапана мягкости воздух потихоньку перетекает в МК, то есть в ЗК давление тоже медленно снижается. А в главной части есть отверстие 0,5 мм, через которое из РК воздух перетекает в ЗК. Таким образом, и в РК давление потихоньку снижается.
Но если давление в МК станет падать более быстрым темпом, то отверстия по 5 мм не смогут пропускать усилившийся поток. Тогда сначала магистральная диафрагма испытает перепад давлений и прогнется влево; а потом главный поршень по той же причине сместится вправо.
После начавшегося торможения оба эти отверстия закрываются. Клапан мягкости закрывается потому что в самом начале торможения воздух из канала ДР поступает в полость над его диафрагмой. Отвретсие 0,5 мм в главной части закрывается манжетой главного поршня, когда он начнет сдвигаться вправо.
В начало страницы
Назад <<< >>>Вперед
|

Анимация (мультик) по схемам прямодействующего, нпрямодействующего
тормоза и ЭПТ

Отличное пособие по новому воздухораспределителю пассажирских вагонов № 242.
С анимацией и дикторским сопровождением





|