|

ТЕХНОЛОГИЯ РЕМОНТА БУКСОВОГО УЗЛА ТЕПЛОВОЗА ЧМЭ3
Краткая характеристика блока и втулок цилиндров тепловоза ЧМЭ3
Введение. Общие сведения о тепловозах ЧМЭ3
Тепловозы ЧМЭ2 и ЧМЭЗ (Ч — чехословацкий, М — маневровый, Э — с электрической передачей, цифры 2 и 3 — номер серии) поставляло в Советский Союз производственное объединение ЧКД-Прага (ЧССР), в которое входят заводы: имени Вильгельма Пика (производство дизелей), «Тракце» (электрооборудование) и «Локомотивка-Соколово» (экипажная часть, вспомогательное оборудование и сборка).
В 1958—1965 гг. чехословацкое национальное предприятие ЧКД-Прага изготовило для железных дорог СССР 522 четырехосных тепловоза ЧМЭ2 мощностью 550 кВт (750 л.с). В 1963 г. производственным объединением ЧКД-Прага по заказу Министерства путей сообщения Советского Союза были изготовлены два опытных шестиосных тепловоза ЧМЭЗ мощностью 993 кВт (1350 л. с), которые прошли эксплуатационные испытания на экспериментальном кольце Всесоюзного научно-исследовательского института железнодорожного транспорта (ст. Щербинка) и в локомотивном депо Люблино Московской дороги.
В 1964 г. была изготовлена опытная партия из десяти тепловозов ЧМЭЗ.
С 1965 г. выпуск тепловозов ЧМЭ2 был прекращен, и начался серийный выпуск тепловозов ЧМЭЗ. На 1 января 1990 г. на советские железные дороги поступило более шести тысяч таких локомотивов.
В течение более 20 лет тепловозы ЧМЭЗ поставлялись на дороги Советского Союза без принципиальных конструктивных изменений. В то же время по рекомендациям эксплуатационников и ремонтников депо заводом-изготовителем была улучшена конструкция и компоновка отдельных узлов и сборочных единиц.
Длительная эксплуатация тепловозов ЧМЭЗ в различных климатических условиях (от минус 40 до плюс 40 °С) показала их высокую надежность.
В 1984 г. по заказу МПС ПО ЧКД-Прага были изготовлены два опытных тепловоза ЧМЭЗТ, а в 1986 г.— опытная партия (20 шт.) локомотивов этой модификации. Почти все оборудование (основные сборочные единицы) этого тепловоза (экипажная часть, дизель, компрессор, гидромеханический редуктор, тяговые электрические машины, двухмашинный агрегат и т. д.) одинаково с таким же оборудованием серийного тепловоза ЧМЭЗ, но индекс Т указывает, что тепловоз дополнительно оснащен электродинамическим (реостатным) тормозом и устройством для подогрева дизеля после длительных стоянок. Оба этих новшества, а также применение электронного регулятора позволяют при эксплуатации тепловозов ЧМЭЗТ снизить по сравнению с тепловозами ЧМЭЗ расход топлива на 8—10%, песка на 45—50% и тормозных колодок на 95%.
С июля 1988 г. ПО ЧКД-Прага полностью перешло на серийный выпуск тепловозов ЧМЭЗТ и ЧМЭЗЭ, прекратив выпуск тепловозов ЧМЭЗ. Тепловозы с индексом Э («Электроника») не оборудованы электродинамическим тормозом, но имеют устройство для подогрева дизеля. На этих тепловозах также применен электронный регулятор, позволяющий наиболее эффективно использовать электрическую передачу мощности.
Цели и задачи письменной экзаменационной работы
Заданием на письменную экзаменационную работу было предложено описать назначение и конструкцию буксового узла тепловоза ЧМЭ3, процесс его ремонта, изучить безопасные приёмы труда, меры по экономичному расходованию материалов при ремонте.
1.1 Краткая характеристика буксового узла тепловоза ЧМЭ3
Через буксы масса тепловоза передается на оси колесных пар. Кроме того, буксы участвуют в передаче тяговых и тормозных усилий от колесных пар на раму тележки.
На тепловозе ЧМЭ3 применены буксы с двухрядными роликовыми сферическими подшипниками, смонтированными в корпусах, которые одновременно выполняют роль балансиров рессорного подвешивания. Применение опорно-упорного подшипника со сферическими роликами упрощает конструкцию буксы, которая не нуждается в специальном осевом упоре. Такой подшипник одновременно является самоустанавливающимся, т. е. он обеспечивает нормальную работу буксового узла при небольших перекосах оси относительно корпуса буксы.
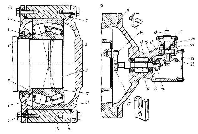
Роликовый подшипник состоит из внутреннего 10 (рис. 1, а) и наружного 11 колец и двух рядов сферических роликов 2 в сепараторах 13. Собранный подшипник насаживают на шейку 9 оси колесной пары в горячем состоянии, чем обеспечивается необходимый натяг между шейкой оси и кольцом 10. Корпус 12 буксы плотно насаживается на наружную поверхность кольца 11 и закрывается двумя крышками 6 и 8. Уплотнение между крышками и корпусом буксы осуществляется постановкой резиновых колец 7.
Задняя крышка 6 свободно надета на предподступичную часть оси. Предварительно в кольцевую канавку крышки ставят прожированное войлочное кольцо 5. Для защиты оси от износа из-за трения войлочного кольца на нее с натягом надевают сменное стальное кольцо 4. Уплотнение камеры смазки буксового узла, кроме войлочного кольца 5, обеспечивает стальное отбойное кольцо 3, которое в нагретом состоянии насаживают на ось до упора в кольцо 4.

Рисунок 1 - Роликовая букса (а) и привод скоростемера (б):
1 — болт; 2 — ролик; 3 — отбойное кольцо; 4 — сменное кольцо; 5 — войлочное кольцо; 6, 8 — задняя и передняя крышки; 7 — резиновое кольцо; 9 — шейка оси; 10, 11 — внутреннее и наружное кольца роликового подшипника; 12 — корпус буксы; 13 - сепаратор; 14 — палец; 15, 18 — валики; 16 — корпус привода; 17 — стопорное кольцо; 19, 22 — крышки; 20, 25 — шариковые подшипники; 21 — масленка; 23, 24 — конические шестерни; 26 — дистанционная втулка; 27—поводок; 28 — приводной вал; 29 — кожух; 30— втулка; 31 — щечка; 32 — шарик; а, б, г, д, е — отверстия; в — выступ; ж — борт валика
Передняя 8 и задняя 6 крышки прикреплены к корпусу буксы восемью болтами 1, головки которых попарно зашплинтованы.
При сборке в буксу закладывают 1,25 кг смазки ЖРО, причем переднюю крышку заполняют на 1/3 объема, а остальная смазка должна быть равномерно распределена между кольцами и роликами подшипника. Смазка ЖРО (тугоплавкая — температура каплепадения 200 °С) должна оставаться в консистентном состоянии, т. е. не разжижаться при любых условиях работы буксового узла, температура которого может превышать температуру окружающей среды только на 30°. Вытекание смазки из буксы является признаком сильного ее перегрева и, следовательно, признаком разрушения подшипника.
Фрагмент работы с оформлением в формате PDF можно посмотреть ЗДЕСЬ
В комплект входит чертеж буксового узла на формате А1 в программе "Компас" (формат CDW)

КАК СКАЧАТЬ РАБОТУ ВСЮ ЦЕЛИКОМ ?
Вернуться к списку работ
|