|

ТЕМА 5.3 УСТРОЙСТВО И РЕМОНТ
ВЫПРЯМИТЕЛЬНОЙ УСТАНОВКИ ВУК 4000Т-02
Введение. Общие сведения о выпрямительных установках
Преобразовательные установки предназначаются для преобразования электрического тока из переменного в постоянный (выпрямители), из постоянного в переменный (инверторы), из переменного одной частоты в переменный другой частоты (преобразователи частоты). Процесс преобразования может происходить одновременно с регулированием напряжения. На электровозах переменного тока нашли широкое применение выпрямители, а в последнее время благодаря широкому распространению управляемых полупроводниковых вентилей применяются управляемые выпрямители, т. е. выпрямители с регулированием напряжения и инверторы (электровоз ВЛ80р), также с регулированием режима рекуперативного торможения.
Необходимость в преобразователях на электроподвижном составе переменного тока обусловлена, прежде всего, применением тяговых двигателей постоянного тока, в то время как в контактной сети переменное напряжение 25 кВ частотой 50 Гц. Поэтому на электровозах устанавливают оборудование, которое в тяговом режиме снижает это напряжение до уровня, допустимого для тяговых двигателей, преобразует переменный ток в постоянный и регулирует напряжение. Понижение напряжения осуществляется трансформатором и автотрансформатором, преобразование переменного тока в постоянный — выпрямителем. Регулирование напряжения может выполняться различными способами. При наличии в выпрямителях управляемых вентилей регулирование напряжения может осуществляться выпрямителями.
Выпрямительные установки с неуправляемыми вентилями установлены на всех электровозах переменного тока, кроме ВЛ80р. Выпрямительные установки, в которых применены управляемые вентили — тиристоры, используются на электровозах ВЛ80т и ЧС4Т для регулирования режима реостатного торможения путем изменения тока возбуждения тяговых двигателей в зависимости от необходимой силы торможения, скорости и других факторов.
На электровозе ВЛ80р выпрямительно-инверторные преобразователи выполнены на управляемых вентилях. Они в режиме тяги выполняют роль управляемых выпрямителей, а в режиме рекуперативного торможения — управляемых инверторов.
Основным элементом всех преобразователей является вентиль. При прохождении через вентиль тока часть энергии теряется — выделяется в виде тепла. Современные преобразовательные установки работают сравнительно с небольшими потерями энергии — не более 2%. Однако если не предусмотреть принудительного охлаждения — вентиляции, то эти потери могут привести к недопустимому нагреву оборудования, в первую очередь самих вентилей. Поэтому вентили монтируют в специальных охладителях — радиаторах с развитой поверхностью в виде ребер, а преобразователи оборудуют системой принудительного охлаждения потоком воздуха.
Для преобразователей большой мощности требуются десятки, а иногда сотни вентилей. Ток и напряжение должны равномерно распределяться между всеми вентилями. Поэтому в преобразователях используют устройства, выравнивающие ток и напряжение между вентилями. Наконец, преобразователи с управляемыми вентилями оборудуют системой, обеспечивающей подачу открывающих импульсов на управляющие электроды тиристоров, системами защиты и сигнализации: Все перечисленные устройства в комплексе составляют преобразовательную установку.
Краткая характеристика выпрямительной установки ВУК-4000Т-02
Назначение. Выпрямительная установка ВУК-4000Т-02 предназначена для выпрямления переменного тока в постоянный для питания тяговых двигателей.
Конструкция. Конструктивно каждая выпрямительная установка выполнена в виде двух блоков — шкафов прямоугольной формы, основу которых составляет сварной металлический каркас 1 (рис. 1). Поскольку каждый вентиль 3 с радиатором 4 должен быть изолирован от соседних вентилей, радиаторы укреплены на изоляционных шпильках 6 и между ними проложены изоляционные прокладки. Шины 2, которыми выпрямительные установки подсоединены к цепям трансформатора и двигателей, установлены на изоляторах 5. Вентили одного плеча расположены с одной стороны, а вентили другого плеча — с другой. В каждую из 12 параллельных ветвей плеча входят четыре вентиля, расположенных друг под другом. Радиаторы охлаждаются потоком воздуха, направленного от вентилятора через переключающее устройство сверху вниз. Корпуса вентилей со стороны гибкого вывода охлаждаются благодаря естественной циркуляции воздуха. На каждой секции электровоза установлены четыре блока выпрямительных установок ВУК-4000Т-02.

Рисунок 1 – Общий вид выпрямительной установки ВУК-4000Т-02

Рисунок 2 – Фото выпрямительной установки
В каждом блоке размещено по шесть диодов с охладителями. Установка укомплектована диодами ВЛ200-8 не ниже 8-го класса. Для удобства замены диодов в эксплуатации они по значению прямого падения напряжения разбиты на две подгруппы, каждая из которых имеет следующую маркировку:
- подгруппа I (0,52; .0,53; 0,54 В) — цвет черный;
- подгруппа II (0,55; 0,56; 0,57; 0,58 В) — цвет белый.
Одна выпрямительная установка содержит 192 диода.
Плечо моста содержит 4 последовательно и 12 параллельно соединенных диодов (рис.3).

Рисунок 3 – Схема соединений
Цифра 200 в обозначении диода указывает значение номинального прямого тока диода (200 А); класс диода характеризует значение обратного напряжения или напряжение лавинообразования; 8-й класс — не менее 869В.
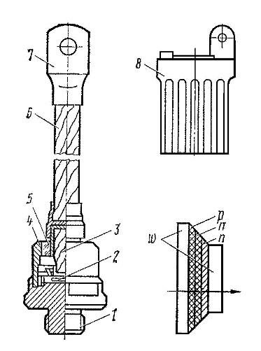
Основой кремниевого выпрямительного диода (рис. 4) служит тонкая круглая пластинка из сверхчистого монокристаллического кремния, обладающего электронной проводимостью. В качестве электродов выпрямительного элемента в кремниевых диодах использованы никелированные вольфрамовые диски, припаиваемые с двух сторон к кремниевой пластинке и защищающие ее от механических повреждений. Для повышения надежности работы диода в обратном направлении боковую поверхность кремниевой пластинки стачивают на конус.

Рисунок 4 - Конструкция кремниевого диода
Выпрямительный элемент 2 припаян к массивному медному основанию 1, представляющему собой короткий болт с шестигранной головкой, на торце которой имеется цилиндрическое углубление для выпрямительного элемента. Нарезка на стержне болта служит для ввинчивания в тело охладителя 8, способствующего лучшему отводу тепла от диода. Сверху в основание завальцован стальной цилиндрический кожух 4, защищающий выпрямительный элемент от воздействия окружающей среды. К верхнему электроду элемента припаян гибкий провод 3, выходящий наружу сквозь изолирующую втулку 5 из свинцового стекла, укрепленную в верхней части кожуха. Наружный конец гибкого провода верхнего вывода 6, являющегося одним из электродов диода, снабжен стандартным наконечником 7 для включения диода в цепь.
Фрагмент работы с оформлением в формате PDF можно посмотреть ЗДЕСЬ
В комплект входит чертеж выпрямительной установки ВУК4000Т-02 на формате А1 в программе "Компас" (формат CDW)

КАК СКАЧАТЬ РАБОТУ ВСЮ ЦЕЛИКОМ ?
Вернуться к списку работ
|