|

D_2.5 ТЕХНИЧЕСКОЕ ОБСЛУЖИВАНИЕ ТО-3
ЭЛЕКТРИЧЕСКОЙ АППАРАТУРЫ ЭЛЕКТРОВОЗА ВЛ10
2.1 Общие сведения.
Перед постановкой электровоза на канаву для выполнения ТО-3 ходовые части очищают, а тяговые двигатели продувают сжатым воздухом. В зимнее время очищают снегозащитные фильтры. Перед началом технического обслуживания проверяют работу вспомогательных машин, регулятора напряжения, реле обратного тока, действие тормозов и песочницы. Мегаомметром измеряют сопротивление изоляции обмоток тяговых двигателей, изоляторов крышевого оборудования и электрической аппаратуры.
При ТО-3 осматривают основные узлы ходовых частей, рессорного и люлечного подвешивания, тормозной рычажной передачи, ударно-сцепных устройств, оборудование песочниц, тяговые двигатели, вспомогательные машины, низковольтную и высоковольтную аппаратуру, пусковые резисторы, крышевое оборудование, аккумуляторную батарею, пневматическое оборудование, устройства автоматической локомотивной сигнализации и радиосвязи. Выявленные при этом неисправности, а также дефекты, записанные в журнале технического состояния электровоза, устраняют.
По окончании работ по ТО-3 проверяют электровоз под рабочим напряжением контактной сети. При этом убеждаются в правильности включения аппаратов, работы вспомогательных машин, трогании с места при управлении из обеих кабин, проверяют работу тормозов. ТО-3 выполняют рабочие комплексных и специализированных бригад на ремонтных стойлах основного локомотивного депо.
2.2 Проверка сопротивления изоляции
При ТО-3 проверку электрооборудования начинают с измерения сопротивления изоляции всех силовых аппаратов, обмоток тяговых двигателей и вспомогательных машин. Для измерений используют мегаомметр напряжением 2500 В. Благодаря малой мощности этого прибора прикосновение к токоведущим частям электровоза во время проверки не представляет непосредственной опасности. Однако электрический ток может вызвать непроизвольные движения и быть причиной ушибов или падения. Поэтому сопротивление изоляции целесообразно измерять до начала всех работ, предварительно убедившись в отсутствии людей на крыше электровоза.
Для измерения силовую цепь обычно разбивают на несколько участков.

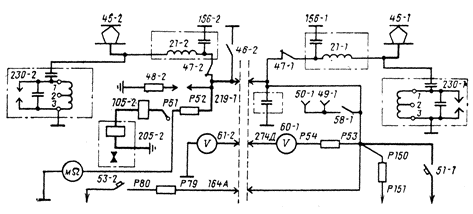
Рис. 1. Схема измерения сопротивления изоляции крышевого оборудования электровоза ВЛ10
Одним из участков является все крышевое оборудование. При измерении сопротивления изоляции этого участка на электровозе ВЛ10 включают крышевые разъединители 47-1 и 47-2 (рис. 1), убеждаются в том, что шинный разъединитель 58-1 низковольтных розеток 49-1 и 50-1 отключен и быстродействующие выключатели БВП-5 (51-1) и БВЗ-3 (53-2) находятся в выключенном состоянии.
Цепь вольтметров разрывают отсоединением провода от зажима Р53 добавочного резистора. Войдя в высоковольтную камеру второй секции, закрывают ее так же, как и первую, с тем, чтобы отключить заземляющие разъединители 46-1 и 46-2, и отсоединяют провод от зажима Р51 добавочного резистора реле контроля защиты и вентиля защиты.
Перед измерением проверяют исправность мегаомметра. Результаты измерения зависят от продолжительности приложения напряжения, поэтому, равномерно вращая ручку, снимают показания прибора через 30—60 с после начала измерения.
Поскольку во время измерения сопротивления изоляции крышевого оборудования необходимо находиться в высоковольтной камере и при отключенных заземляющих разъединителях подсоединять мегаомметр непосредственно к цепи токоприемников, запрещается выполнять измерения при стоянке электровоза под контактным проводом, находящимся под напряжением.
Для измерения сопротивления изоляции обмоток вспомогательных машин и печей нужно разорвать минусовую цепь, отсоединив от сборной шины (панели заземления) в высоковольтной камере первой секции более толстый кабель, идущий через быстродействующий выключатель БВЗ-2 (53-2) к счетчику электроэнергии. Выводы мегаомметра подсоединяют к панели заземления 39-2 и корпусу электровоза. Чтобы установить место пониженного сопротивления изоляции, нужно разбить проверяемую цепь на отдельные участки, изолированные друг от друга.
Сопротивление изоляции каждой отдельно взятой части цепи может быть много больше ее общего сопротивления. Например, в результате увлажнения сопротивление изоляции всех восьми тяговых двигателей электровоза ВЛ10 может быть равным 0,5 МОм, а каждой отдельно взятой пары тяговых двигателей — около 2 МОм.
Однако следует учитывать, что мегаомметр является прибором с крутопадающей характеристикой: при увеличении тока во внешней цепи между его зажимами напряжение на выходе прибора резко падает. В то же время косвенно оцениваемый мегаомметром ток утечки изоляции обычно зависит от значения приложенного напряжения. Поэтому сопротивление изоляции каждого из двух одинаковых участков электрической цели может быть не в 2 раза больше сопротивления изоляции всей цепи, а, например, только в 1,8 раза.

В комплект входит чертеж размещения блоков электрических аппаратов
электровоза ВЛ-10 на формате А1 в программе "Компас 3D V15" (формат CDW)


Вернуться к списку работ
|