ОРГАНИЗАЦИЯ РАБОТЫ ОТДЕЛЕНИЯ ПО РЕМОНТУ ЭЛЕКТРИЧЕСКИХ МАШИН ПАССАЖИРСКИХ ВАГОНОВ
1 Технология ремонта подвагонных генераторов
1.1 Описание конструкции генераторов
Генератор служит для преобразования механической энергии в электрическую.
Подвагонные генераторы являются основными источниками питания, которые обеспечивают электроэнергией все потребители в пассажирских вагонах. Генераторы пассажирских вагонов приводятся во вращение через редуктор от оси колесной пары или от средней части оси.
В системах электроснабжения пассажирских вагонов широко применяют индукторные генераторы переменного тока. В отличие от обычного синхронного генератора они не имеют обмоток на роторе и колец со щетками для подвода к нему тока. Такие генераторы по сравнению с генераторами постоянного тока ввиду отсутствия щеточно-коллекторного аппарата надежны в работе требуют более простого ухода.
Все генераторы различают на генераторы постоянного тока и генераторы переменного тока.
Рассмотрим устройство генератора переменного тока со смешанным возбуждением типа 2ГВ.003.
Параметры генератора 2ГВ.003:
- мощность - 10,2 кВ А;
- мощность на выходе выпрямителя - 8 кВт;
- линейное напряжение: Основной обмотки - 45 В; Дополнительной обмотки - 24 В;
- напряжение параллельной обмотки возбуждения - 28 В;
- номинальный ток: Основной обмотки - 121 А; Дополнительной обмотки - 31,5 А; Последовательной обмотки возбуждения - 147 А;
- частота вращения: Номинальная - 950 об\мин; Наибольшая - 4000 об\мин;
- Наибольшая частота тока - 400 Гц;
- коэффициент полезного действия при номинальной частоте вращения 87%;
- число полюсов – 12;
- масса - 260 кг.
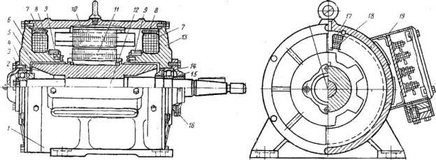
Генератор имеет корпус 1 с плитой для монтажа генератора под вагоном или на тележке. На остове находится ребра для воздушного охлаждения машины. Статор 9 выполнен из листов электротехнической стали, изолированных лаковой пленкой, и запрессован в корпус. Статор имеет пазы, в которые уложены катушки 5 и 6 обмоток якоря. Выводы от обмоток якоря подключены и зажимают панели, установленной в коробке 3. Подшипниковые щиты 4 и 13 имеющие наружные ребра для охлаждения, крепятся к корпусу болтами, в них установлены подшипники качения. Кольцевые приливы щитов служат для установки двух пар последовательно соединенных катушек обмотки возбуждения 12 и последовательной 11.
Ротор генератора выполнен в виде сердечника 10, собранного из листов электротехнической стали, изолированных друг от друга. Он имеет шесть зубцов, то есть двенадцать полюсов. Сердечник ротора запрессован на втулку 7, укрепленную на валу ротора. Втулка ротора является частью магнитопровода генератора и должна иметь достаточно большое сечение. В этих генераторных кольцах приливов 14 подшипниковых щитов также имеют развитую поверхность, т. к. через них проходит магнитный поток возбуждения. Генераторы 2ГВ различных модификаций имеют примерно однотипную конструкцию и отличаются устройством узла, подвески генератора к вагону, конструкцию подшипниковых узлов, расположением и количеством обмоток возбуждения, способом крепления ротора ( рисунок 1.1).

1 - остов; 2 - шайба; 3 - крышка подшипника; 4 - шариковый подшипник;
втулка; 6 - подшипниковый щит; 7 - параллельная обмотка возбуждения; 8 - специальная (противопараллельная) обмотка возбуждения; 9 – последовательная обмотка возбуждения; 10 - сердечник статора; 11 - ротор (индуктор); 12 - вал; 13 - подшипниковый щит; 14 - роликовый подшипник; 15 - крышка подшипника;
16 - масленка; 17 - основная зубцовая обмотка; 18 - дополнительная зубцовая обмотка; 19 - клеммная коробка.
Рисунок 1.1 - Генератор 2ГВ.003
Вал ротора вращается в двух подшипниках. Со стороны привода установлен роликовый подшипник, с противоположной стороны - шариковый. Для смазки подшипника предусмотрена масленка. К торцу вала болтами крепится шайба, запирающая шарикоподшипник. К щиту крепится крышка подшипника. К выводной клеммной коробке подводятся провода, идущие от обмоток статора и возбуждения. Коробка закрывается крышкой.
Рассмотрим устройство и параметры генератора переменного тока со смешанным возбуждением типа 2ГВ.008.
Параметры генератора:
- линейное напряжение, В: основной обмотки – 45; дополнительной - 30;
- номинальная мощность, кВт: основной обмотки - 8,95; дополнительной обмотки - 1,05;
- номинальный ток, А: основной обмотки – 115; дополнительной обмотки – 35;
- число фаз: основной обмотки – 3; дополнительной обмотки – 1;
- номинальная частота вращения, 700об\мин;
- максимальная частота вращения, 2500об\мин;
- напряжение обмотки возбуждения, 26 В;
- маховый момент, 1,7 кгм2 ;
- коэффициент полезного действия,78 %;
- масса, 300 кг.

Конструктивно генератор типа 2ГВ.008 (Рисунок 1.2) практически аналогичен генератору типа 2ГВ.003, но все же имеются некоторые отличия.
Фрагмент работы с оформлением в формате PDF можно посмотреть ЗДЕСЬ
КАК СКАЧАТЬ РАБОТУ ВСЮ ЦЕЛИКОМ ?
Вернуться к списку работ
|