ОРАГНИЗАЦИЯ РАБОТЫ УЧАСТКА ПО РЕМОНТУ ГИДРАВЛИЧЕСКИХ ГАСИТЕЛЕЙ КОЛЕБАНИЙ
ВВЕДЕНИЕ
Рессорное подвешивание тележек пассажирских вагонов, у которых упругие элементы состоят только из одних пружин, не могут обеспечить соответствующих ходовых качеств вагона. Поэтому для гашения или ограничения колебаний отдельных узлов вагона в рессорном подвешивании этих тележек установлены специальные приборы – гасители колебаний.
На основании экспериментальных работ, проведенных в нашей стране и за рубежом, установлено, что организм человека по разному воспринимает колебания с различными частотами. Особенно неблагоприятны для человека колебания в пределах 4-6 Гц. Связь между интенсивностью внешнего воздействия процессов колебания вагона на организм человека и реакцией организма на эти воздействия оценивается величиной показателя плавности хода.
В тележках КВЗ-ЦНИИ и ТВЗ-ЦНИИ-М гидравлические гасители колебаний устанавливаются только в центральной ступени подвешивания. Применяются две системы расположения гасителей колебаний – совместного и раздельного гашения колебаний.
В системе совместного гашения колебаний вагона с каждой стороны тележки устанавливаются наклонно (угол = 45-55 градусов) по одному гасителю. Такое расположение гасителей в тележках КВЗ-ЦНИИ.
При раздельной системе гашения колебаний: для гашения вертикальных колебаний кузова гасители устанавливают под углом 90 градусов, а горизонтально расположенные гасители размещают между надрессорной и поперечной балкой рамы тележки. Такая система расположения гасителей применялась на тележках вагонов РТ200, на вагонах электропоездов ЭР200, а в настоящее время – на тележках ТВЗ-ЦНИИ-М и в скоростных тележках (модель 61-4075 имеет гидравлические гасители и в буксовом подвешивании).
Применение соответствующей рабочей жидкости в гидравлических гасителях позволяют повысить долговечность и обеспечить стабильным параметр сопротивления. Этот параметр может быть определен по рабочей диаграмме, записанной при испытании гасителя на специальном стенде, состоящем из механизма, задающего возвратно-поступательное движение поршню гасителя относительно его цилиндра, и механизма для регистрации силы сопротивления, развиваемой гасителем в зависимости от перемещений ползуна. Эти механизмы смонтированы на одной станине.
1.ОСНОВНЫЕ СВЕДЕНИЯ О ГИДРАВЛИЧЕСКОМ ГАСИТЕЛЕ КОЛЕБАНИЙ
1.1 Краткая характеристика гидравлического гасителя колебаний
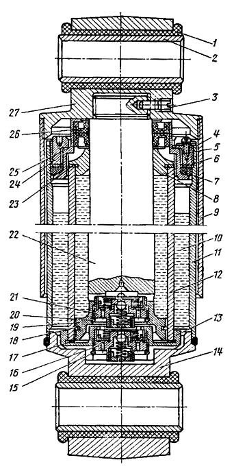
Гаситель колебаний типа КВЗ-ЛИИЖТ (рисунок 1.1) имеет цилиндр 12, который одним концом установлен в углублении фланца 13 нижнего клапана 16 и прижат направляющей втулкой 8. Шток 22 с поршнем 19 ввернут в верхнюю головку 27 и закреплен винтом 3. Верхний клапан 21 ввернут в углубление поршня и штока и тоже закреплен пружинным кольцом 20.
Нижний клапан закреплен с пружинным кольцом 15 во фланце 13, который свободно вставлен в углубление нижней головки 14. Через фрезерованные канавки головки нижняя часть клапана 16 сообщается резервуаром 10. К головке 14 приварен корпус 11, который является основой для сборки всех частей гасителя и, кроме того, наружной стенкой резервуара 10. Для защиты корпуса и штока от механических повреждений и защиты рабочей поверхности штока от пыли и грязи к верхней головке 27 привернут кожух 9, который почти полностью закрывает корпус.
Большое влияние на работоспособность гасителя оказывают уплотнения поршня, штока, а также мест прилегания цилиндра к направляющей втулке 8 и фланцу 13. Для уплотнения поршня поставлено чугунное кольцо 18. Основным уплотняющим устройством штока на выходе из цилиндра является направляющая втулка 8, а вспомогательным - каркасные сальники 25. Причем нижний сальник предназначен для снятия жидкости с поверхности штока при выходе его из цилиндра, а верхний - для снятия пыли и грязи при входе штока в цилиндр. Каркасные сальники смонтированы в обойме 26. Уплотнение торцов цилиндра 12 осуществлено алюминиевыми кольцами 17 и 23. Внутренние части гасителя (направляющая втулка, цилиндр и фланец нижнего клапана) закреплены при помощи натяжного кольца 24, которое ввернуто в верхнюю часть корпуса.
Натяжное кольцо 24 через металлическую шайбу 6 и уплотненное резиновое кольцо 7 упирается в обойму 26 и через нее нажимает на направляющую втулку, цилиндр, фланец и нижнюю головку. Кольцо 24 застопорено планкой 4, один конец которой прикреплен к нему шурупом 5, а другой входит в прорез корпуса 11.
Для крепления гасителя к надрессорной балке и раме тележки в верхней и нижней головках имеются цилиндрические отверстия с резиновым 1 и металлическим 2 втулками.
Верхний 21 и нижний 16 клапаны взаимозаменяемы и снабжены предохранительными шариковыми устройствами для ограничения сопротивления гасителя при чрезмерных скоростях перемещения поршня или повышений вязкости жидкости из-за низкой температуры окружающей среды. При повышении давления жидкости в цилиндре сверх допустимого шариковое устройство срабатывает и перепускает часть жидкости, минуя дроссельные каналы, которые выполнены в виде прямоугольного прореза на седле клапана.

1.2 Периодичность и сроки технического осмотра и ремонта
В процессе работы гасители колебаний преобразуют кинетическую энергию колебаний в тепловую, теряют первоначальные свойства вследствие повреждения и износа, как отдельных элементов, так и гасителя в целом. В связи с этим основной целью технического обслуживания и ремонта является восстановление технических характеристик гасителя колебаний и обеспечение надежности его работы в межремонтный период.
Для поддержания гасителей колебаний в работоспособном состоянии необходимо выполнить планово – предупредительную систему их технического обслуживания и ремонта.
Структура ремонтного цикла, определяющая количество и чередование видов обслуживания и ремонта, является основой этой системы.
Гаситель колебаний подлежит отправке в ремонт после выработки межремонтного ресурса. Досрочная сдача гасителя в ремонт производится при обнаружении явных признаков отказа: интенсивной утечки рабочей жидкости, заклинивании штока с поршнем в направляющей или в цилиндре, образования спрессованного снега в подкожной полости, отсоединения штоковой головки или самоотвинчивания гайки корпуса.
Установлена следующая структура ремонтного цикла: технические обслуживания ТО-1, ТО-2, ТО-3, текущий ремонт ТР и капитальные ремонты КР-1 КР-2.
Текущее обслуживание и ремонт гасителей выполняются в соответствии с технологическими картами-инструкциями на ремонт. Качество выполнения работ по ремонту и обслуживанию этих устройств контролирует руководство депо и ревизорский аппарат.
Техническое обслуживание ТО-1 проводят в составах поездах, на пунктах технического обслуживания, станциях формирования и оборота пассажирских поездов перед каждым отправлением в рейс, а также в поездах в пути следования и на промежуточных станциях. Состояние гасителей определяют по внешним признакам.
Техническое обслуживание ТО-2 осуществляют перед началом летних и зимних перевозок. Гасители проверяют ультразвуковым прибором или ручной прокачкой.
Фрагмент работы с оформлением в формате PDF можно посмотреть ЗДЕСЬ
В комлект входит чертеж гидрогасителя 4075 к программе КОМПАС на формате А1

КАК СКАЧАТЬ РАБОТУ ВСЮ ЦЕЛИКОМ ?
Вернуться к списку работ
|