Организация работы контрольного пункта автотормозов (АКП). Ремонт арматуры (соединительных рукавов, концевых и разобщительных кранов)
1 Общие сведения о тормозном оборудовании
1.1 Краткое описание тормозного оборудования грузового вагона
Тормозное оборудование грузового вагона можно разделить на две группы устройств:
- Пневматическое тормозное оборудование;
- Механическое тормозное оборудование.
1.1.1 Пневматическое оборудование грузового вагона
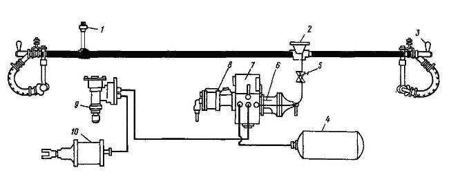
Пневматическое тормозное оборудование показано на рисунке 1

Рисунок 1 – Пневматическое тормозное оборудование грузового вагона
Тормозная магистраль (ТМ) или иначе – магистральный воздухопровод – это стальная труба диаметром 32 мм, закрепленная под кузовом вагона и проходящая от одного до другого его конца. По концам на резьбовые части магистрали навинчиваются концевые краны (поз. 3) усл. № 190, а на них, в свою очередь, гибкие соединительные рукава усл. № Р-17. С помощью концевых кранов тормозная магистраль данного вагона может быть либо подсоединена к магистрали других вагонов, либо отсоединена от них. Концевые краны обычно устанавливают не строго вертикально (вверх ручками), а с поворотом градусов на 30. Это улучшает работу рукавов в кривых участках пути и исключает удары головок при следовании через горочные замедлители. То есть не строго вертикальный, а слегка наклоненный концевой кран – это нормально, не надо пытаться его повернуть до вертикального положения.
(Примечание: имеется в виду положение корпуса крана при навинчивании его на резьбовую часть ТМ. А положение ручки, общеизвестно, вверх, то есть поперек ТМ – кран закрыт, вниз, то есть вдоль ТМ и соединительного рукава – кран открыт).

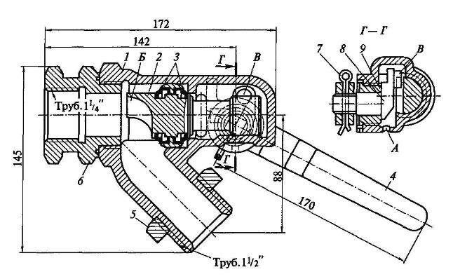
Рисунок 2 – Концевой кран усл. № 190
Рассмотрим конструкцию концевого крана. Кран состоит из корпуса 1, клапана 2 с отражателем (полусферической поверхностью) Б, двух резиновых уплотнительных колец 3, эксцентрикового кулачка 8, гайки 9 и ручки 4, укрепленной на квадрате кулачка шплинтом 7. Контргайка 5 служит для уплотнения и крепления тормозного соединительного рукава на отростке концевого крана.
Для перекрытия крана ручку 4 поворачивают вверх до упора, при этом палец В перемещает клапан 2 влево и прижимает левое кольцо 3 к седлу штуцера 6. В этом положении палец В проходит за осевую линию примерно на 4° и сжимает левое уплотнительное кольцо на 3...4 мм, вследствие чего клапан 2 запирается. Таким образом, если закрывая кран, повернуть его до упора, до сжатия уплотнительного кольца (это чувствуют рукой), то он не должен сам открыться при тряске или ударах вагона на рельсовых стыках.
Контрольное отверстие А диаметром 6 мм при закрытом положении крана сообщает магистраль со стороны соединительного рукава с атмосферой. Это важно. Если бы этого отверстия не было, то при перекрытии кранов сжатый воздух остался бы в двух сцепленных рукавах; при рассоединении рукавов воздух бы вырвался и рукав мог бы травмировать человека. Но отверстие (достаточно большое, 6 мм) сбрасывает воздух из рукавов при закрытии концевого крана. Оно нечасто засоряется, тем не менее, надо обращать внимание, чтобы при закрытии крана раздалось характерное кратковременное шипение («пшиканье») выходящего из рукава воздуха.
В открытом положении ручка крана располагается приблизительно вдоль оси отростка, а клапан 2 правым уплотнительным кольцом 3 прижимается давлением сжатого воздуха к седлу в корпусе 1.
На рисунке соединительные рукава изображены закрепленными на специальных подвесках. Так должен быть закреплен рукав на хвостовом вагоне. Иногда, если на вагоне отсутствует крюк для подвески, рукав закидывают за цепь расцепного привода автосцепки и увязывают проволокой. Но, так или иначе, болтаться он не должен.
Позиция 1 на рисунке 1 – это трубка, ответвляющаяся от магистрального воздухопровода, предназначенная для установки крана экстренного торможения (стоп-крана). Но, в отличие от пассажирского вагона, где стоп-кранов обязательно должно быть не менее трех на вагон, на грузовом вагоне стоп-кран либо совсем не ставится, либо ставится только тогда, когда на вагоне есть тормозная площадка.
Позиция 2 на рисунке 1 – тройник-пылеловка усл. № 321-003. Она служит для очистки воздуха, поступающего из тормозной магистрали к воздухораспределителю. Ее корпус 1 (рис. 3) разделен перегородкой на две камеры А и Б, предназначенные для сбора посторонних частиц, масла и влаги. Камеры имеют заглушки 2 и отверстия 3. Пути движения воздуха из тормозной магистрали ТМ к воздухораспределителю Вр показаны на рисунке стрелками. Как видите, пылеловка не содержит каких-либо фильтрующих элементов; частицы грязи и масла оседают в камеры А и Б под собственным весом. Для очистки камер от грязи и масла и выпуска конденсата заглушки вывертывают и продувают пылеловку воздухом.

Рисунок 3 – Тройник-пылеловка усл. № 321-003
В пылеловку ввернута изогнутая труба диаметром 19 мм (3/4 дюйма), которая ведет от тормозной магистрали в двухкамерному резервуару воздухораспределителя, показанному на рис.1 позиция 7. На этой трубе установлен разобщительный кран (позиция 5 на рисунке 1) усл. № 372. Он служит для включения и выключения воздухораспределителей и имеет два положения ручки: вдоль трубы — кран открыт, поперек трубы — кран закрыт. В конусной бронзовой пробке крана имеется атмосферное отверстие для сообщения воздухораспределителя с атмосферой при закрытом положении крана. Это отверстие служит для предупреждения самоторможения выключенного воздухораспределителя в случае пропуска разобщительного крана.

Рисунок 4 – Разобщительный кран усл. № 372
Фрагмент работы с оформлением в формате PDF можно посмотреть ЗДЕСЬ
В комлект входит чертеж схема тормозного оборудования грузового вагона
в программе КОМПАС на формате А1

КАК СКАЧАТЬ РАБОТУ ВСЮ ЦЕЛИКОМ ?
Вернуться к списку работ
|