 |
Железные дороги. Общий курс: Учебник для вузов/М. М. Филиппов, М. М. Уздин, Ю. И. Ефименко и. др.; Под ред. М. М. Уздина.—4-е изд., перераб. и доп.—М.: Транспорт, 1991.—295 с.
Дана характеристика железнодорожного транспорта и показана его роль в единой транспортной системе страны. Изложены основные сведения о железных дорогах, их устройстве и эксплуатации. Отражены основные изменения в технической оснащенности и технологии работы, происшедшие на железнодорожном транспорте за время, истекшее после выхода учебника в 1981 г.
|
1.1. ЗНАЧЕНИЕ ТРАНСПОРТА И ОСНОВНЫЕ ПОКАЗАТЕЛИ ЕГО РАБОТЫ
Транспорт вслед за добывающей промышленностью, земледелием и обрабатывающей промышленностью является сферой материального производства. В отличие от других отраслей промышленности транспорт не производит новых продуктов. Продукцией транспорта является само перемещение, сама перевозка пассажиров и грузов.
Основным видом транспорта в СССР являются железные дороги. Они связывают в единое целое все области и районы страны, обеспечивают потребности населения в перевозках и, нормальный оборот продуктов промышленности и сельского хозяйства. В этом огромное государственное и народнохозяйственное значение железнодорожного транспорта.

ОГЛАВЛЕНИЕ
Введение
РАЗДЕЛ I. ОБЩИЕ СВЕДЕНИЯ О ЖЕЛЕЗНОДОРОЖНОМ ТРАНСПОРТЕ
Глава 1. Характеристика железнодорожного транспорта и его место в единой транспортной системе
1.1. Значение транспорта и основные показатели его работы
1.2 Виды транспорта и их особенности. Роль железных дорог в единой транспортной системе
Глава 2. Краткий исторический очерк возникновения и развития железных дорог
2.1. Дороги дореволюционной России
2.2. Развитие железнодорожного транспорта СССР
2.3. Краткие сведения о зарубежных дорогах
Глава 3. Сооружения и устройства железнодорожного транспорта. Организация управления железными дорогами
3.1. Понятие о комплексе устройств и сооружений и структуре управления на железнодорожном транспорте
3.2. Габариты на железных дорогах
3.3. Основные руководящие документы по обеспечению четкой работы железных дорог и безопасности движения
3.4. Основные экономические показатели работы железных дорог
Глава 4. Основы проектирования и строительства железных дорог
4.1. Основные сведения о категориях железнодорожных линий, трассе, плане и продольном профиле
4.2. Общие принципы и стадии проектирования железных дорог. Экономические и технические изыскания
4.3. Основы технико-экономического сравнения вариантов
4.4. Организация строительных работ и краткие сведения об их механизации
4.5. Подготовка и сдача железной дороги в эксплуатацию
4.6. Особенности проектирования и строительства железных дорог в сложных природно - климатических условиях
РАЗДЕЛ II. УСТРОЙСТВА И ТЕХНИЧЕСКИЕ СРЕДСТВА ЖЕЛЕЗНЫХ ДОРОГ
Путь и путевое хозяйство
Глава 5. Общие сведения о железнодорожном пути
Глава 6. Нижнее строение пути
6.1. Земляное полотно и его поперечные профили. Водоотводные устройства
6 2. Деформации земляного полотна и борьба с ними
6.3. Искусственные сооружения, их виды и назначение
6.4. Мосты
6.5. Трубы. Тоннели. Подпорные стены. Регуляционные сооружения
Глава 7. Верхнее строение пути
7.1 Назначение, составные элементы и типы верхнего строения пути
7.2. Балластный слой
7.3. Шпалы
7.4 Рельсы
7.5. Рельсовые скрепления. Противоугоны.
7.6. Бесстыковой путь
Глава 8. Устройство рельсовой колеи
8.1. Общие сведения
8.2. Особенности устройства пути в кривых
8.3. Устройство пути на мостах и в тоннелях
Глава 9. Соединения и пересечения путей
9.1. Стрелочные переводы
9.2. Съезды, глухие пересечения, стрелочные улицы
9.3. Конечные соединения Сплетение и совмещение путей
9.4. Переезды и путепроводы через железнодорожные пути
Глава 10. Путевое хозяйство
10.1. Задачи путевого хозяйства и его структура
10.2. Классификация и организация производства путевых работ
10.3. Защита пути от снега, песчаных заносов и паводков
Глава 11. Сооружения и устройства электроснабжения
11.1. Схема электроснабжения
11.2. Системы тока и напряжения в контактной сети
11.3. Тяговая сеть
11.4. Эксплуатация устройств электроснабжения
Глава 12 Общие сведении о тяговом подвижном составе
12.1. Сравнение различных видов тяги
12.2. Классификация тягового подвижного состава
Глава 13 Электрический подвижной состав
13.1. Общие сведения
13.2. Механическая часть электровоза
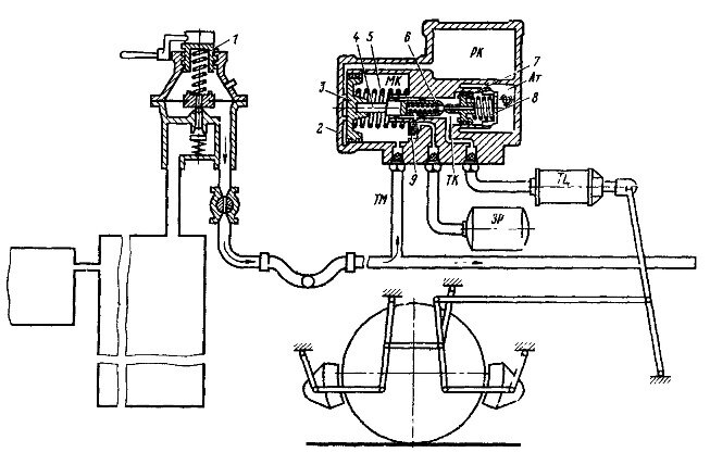
13.3. Электрическое оборудование электровозов постоянного тока
13.4. Особенности устройства электровозов переменного тока
13 5. Электропоезда
Глава 14. Тепловозы
14.1. Принципиальная схема тепловоза
14.2. Основы устройства дизеля
14.3. Электрическая передача и вспомогательное электрическое оборудование тепловоза
14.4. Понятие о механической и гидравлической передачах
14.5. Дизельные поезда, автомотрисы, мотовозы и газотурбовозы
Глава 15. Паровозы
15 1. Принцип работы
15 2. Основные части паровоза
Глава 16. Общие сведения о Тяговых расчетах. Основы взаимодействия пути и подвижного состава
16.1. Назначение тяговых расчетов
16.2. Силы, действующие на поезд
16.3. Расчет массы состава и скорости движения поезда.
16.4. Основные понятия о взаимодействии пути и локомотива
Глава 17. Локомотивное хозяйство
17.1. Общие сведения
17.2. Обслуживание локомотивов и организация их работы
17.3. Экипировка локомотивов
17.4. Ремонт локомотивов
17.5. Восстановительные и пожарные поезда
Глава 18. Вагоны
18.1. Классификация и основные типы вагонов
18.2. Технико-экономические характеристики вагонов
18 3. Основные элементы вагонов
18.4. Понятие о силах, действующих на вагон
Глава 19. Вагонное хозяйство
19.1. Виды ремонта вагонов. Сооружения и устройства вагонного хозяйства
19.2. Текущее содержание вагонов
Системы и устройства автоматики, телемеханики и связи
Глава 20. Общие сведения об автоматике, телемеханике и основах сигнализации на железных дорогах
20.1. Назначение устройств автоматики и телемеханики. Классификация сигналов
20.2. Устройство светофоров
20.3. Места установки и сигнальные показания входных и выходных светофоров
20.4. Общие сведения о переносных, ручных, маневровых и поездных сигналах
Глава 21. Системы интервального регулирования движения поездов
21.1. Общие сведения
21.2 Автоматическая блокировка
21.3. Автоматическая локомотивная сигнализация
21.4. Устройства диспетчерского контроля за движением поездов
21.5. Автоматическая переездная сигнализация
21.6. Релейная полуавтоматическая блокировка
Глава 22. Устройства автоматики и телемеханики на станциях
22.1. Общие сведения
22.2. Электрическая централизация стрелок и сигналов
22.3. Диспетчерская централизация
22.4. Горочная автоматическая централизация
Глава 23. Связь на железнодорожном транспорте. Содержание устройств сигнализации и связи
23.1. Проводная связь
23.2. Радиосвязь
23.3. Линии сигнализации и связи, их обслуживание
Раздельные пункты. Железнодорожные узлы
Глава 24. Общие сведения о раздельных пунктах
24.1 Назначение и классификация раздельных пунктов
24.2. Станционные пути и их назначение
24.3. Продольный профиль и план путей на станциях
24.4. Маневровая работа на станциях
24.5. Технологический процесс работы станции и техническо-распорядительный акт
Глава 25. Устройства и работа раздельных пунктов
25.1. Разъезды, обгонные пункты и промежуточные станции
25.2. Участковые станции
25.3. Сортировочные станции
25.4. Пассажирские станции
25.5. Грузовые станции
25.6. Железнодорожные узлы
Глава 26. Материально-техническое снабжение железнодорожного транспорта
Общие сведения о складском хозяйстве и организации материально-технического снабжения
26.1. Органы снабжения
26.2. Организация материально - технического снабжения
26.3. Топливные и материальные склады
26.4. Доставка грузов
III ОРГАНИЗАЦИЯ ЖЕЛЕЗНОДОРОЖНЫХ ПЕРЕВОЗОК И ДВИЖЕНИЯ ПОЕЗДОВ
Глава 27. Планирование и организация перевозок и коммерческой работы
27.1.Общие сведения
27.2. Планирование грузовых перевозок
27.3. Организация грузовой и коммерческой работы. Комплексная механизация погрузочно-разгрузочных работ
27.4. Основы планирования и организации пассажирских перевозок
Глава 28. Организация вагонопотоков
28.1. План формирования поездов
28.2. Порядок формирования поездов
28.3. Порядок приема, отправления и движения поездов
Глава 29. График движения поездов и пропускная способность железных дорог
29.1. Значение графика и требования, предъявляемые к нему
29.2. Классификация графиков
29.3. Элементы графика
29.4. Порядок разработки графика
Глава 30. Руководство движением поездов
30.1. Система управления движением поездов
30.2. Основные показатели эксплуатационной работы
Глава 31. Автоматизация процессов управления эксплуатационной работой
31.1. Значение ЭВМ для автоматизации управления перевозочным процессом
31.2 Автоматизированная система управления железнодерожным транспортом
31.3. Кодирование информации для ввода в ЭВМ
31.4. Краткие сведения об использовании математических методов для решения эксплуатационных задач
РАЗДЕЛ IV. МЕТРОПОЛИТЕНЫ
Глава 32. Общие сведения о метрополитенах
32.1 Основные определения и понятия
32.2 Особенности отдельных устройств метрополитенов
32 3. Габариты метрополитенов
Глава 33. Путь, подвижной состав, устройства электроснабжения и СЦБ
33.1. Краткие сведения об устройстве пути в метрополитенах
33.2. Вагоны метрополитенов
33.3. Система электроснабжения метрополитенов
33.4. Устройства автоматики, телемеханики и связи
Глава 34. Краткие сведения об организации, движения поездов на линиях метрополитенов
34.1. Понятие об организации движения поездов
34.2. Определение пропускной и провозной способности линий метрополитенов
|